您好,
欢迎访问
无人机网(www.youuav.com)
!
帐号管理
收藏夹
退出
消息
0
请登录
免费注册
手机关注
微信号:youuav
关注官方微信
m.youuav.com
手机扫码看新闻
我的办公室
销售
发布产品
管理产品
求购
发布求购
管理求购
添加收藏
关于我们
广告服务
广告服务
关键词排名
会员升级
帮助中心
常见问题
买家帮助
卖家帮助
问题反馈
网站导航
资讯
企业
产品
品牌
采购
展会
视频
专题
杂志
资讯
资讯
企业
产品
品牌
采购
展会
视频
专题
杂志
搜索
发布询价单
全部产品分类
无人机整机
载人无人机
教育编程无人机
太阳能无人机
消费级无人机
航拍无人机
穿越机
遥控航模
行业应用无人机
巡检无人机
农业植保无人机
影视摄影无人机
测绘勘探无人机
灭火消防无人机
应急救援无人机
警用安防无人机
物流运输无人机
油电混合无人机
飞行平台
系留无人机
氢燃料电池无人机
水质空气检测无人机
气象无人机
军用无人机
战斗无人机
侦查无人机
诱饵无人机
电子对抗无人机
靶机
通信中继无人机
其他
无人机整机
无人机配件
飞控
云台
电池
电机
发动机
电调
螺旋桨
遥控器
有效载荷
机架
综合保障
飞行眼镜
图传数传
地面站
定位模块
成像系统
激光雷达
应用软件
喊话器
充电器
抛投设备
探照灯
热成像仪
其他配套产品
无人机配件
无人机服务
无人机保险
环保监控
河道巡检
无人机编队
培训服务
植保服务
数据加工
航拍摄影
电力拉线
电力巡检
广告影视
测绘服务
其他服务
无人机服务
设备与工具
制造设备
测量设备
航拍设备
其他设备与工具
设备与工具
反无人机
无人机解决方案
测绘解决方案
警用解决方案
消防解决方案
反无人机解决方案
应急救援解决方案
物流运输解决方案
无人机解决方案
无人机其他
杂志
贸易和代理商
社团
物流
协会
其他
无人机其他
水下无人机(潜航器)
消费级产品
企业级产品
教育科研产品
水下无人机配件
水下无人机(潜航器)
无人船
环境监测
海洋调查
安防救援
无人航运
无人船配件
无人船
首页
资讯
企业
产品
品牌
采购
展会
视频
专题
杂志
地图
综合资讯
国内资讯
国际资讯
特种动态
应用领域
科技探索
新品发布
企业动态
无人系统
展会动态
UAV评测
市场分析
百科知识
人物访谈
组织协会
政策法律
教育培训
航拍图库
保险
DIY
赛事活动
排行榜
反无人机
低空经济
您的位置:
首页
>
资讯 搜索
关键字:
亚马逊
(
共
235
条|
7
/
16
页
)
首页
资讯
行业专家
排序方式
按时间
按人气
最新资讯
我网原创
展会资讯
公司动态
亚马逊
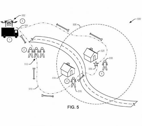
提交专利 意图让无人机进行手势和语言理解
3月23日消息,
亚马逊
刚刚发布了一项自家无人机专利,意图让无人机对人类的手势及语言进行理解,主要用于无人机送货过程中的交付环节中。据
亚马逊
...
综合资讯
2018-03-23 14:15
亚马逊
申请快递交付无人机新专利 可以理解用户语音和手势
PingWest品玩3月23日报道,引述GeekWire的消息,
亚马逊
已经提交了一份交付无人机的专利,可以识别人类的手势,然后做出相应的反应。例如,无人机会识别的...
综合资讯
2018-03-23 07:58
迎战
亚马逊
的科技产品 沃尔玛专利显示这次推出了农场无人机
近年来,沃尔玛公司对于拓展杂货店业务做出了巨大努力,在物流仓储,商品供应架构和技术支持上都做出了极大改进,让其供应链处理程序显得更加高效,而...
综合资讯
2018-03-20 08:35
亚马逊
新专利 无人机送货还给商品配备气囊
亚马逊
首席执行官杰夫·贝索斯为智能手机安装气囊的想法已经过去了七年,现在
亚马逊
将这位CEO的想法申请了专利,而且更近一步。这种专利基于
亚马逊
无人机...
综合资讯
2018-03-15 14:46
谷歌、
亚马逊
等巨头计划打造私营空中无人机管制系统
3月12日消息,据外媒报道,
亚马逊
和谷歌等企业计划开发自己的低空空中交通控制系统,从而他们可以利用无人机进行送货。商用无人机行业将会创建...
综合资讯
2018-03-12 16:41
谷歌
亚马逊
等企业将打造私营空中无人机管制系统
北京时间周一(3月12日),据《华尔街日报》报道,商用无人机行业希望创建一个由私人投资并运营的空中交通管制网络,独立于目前的联邦系统,以适用于低...
国际资讯
2018-03-12 13:38
原创
无人机探索查
亚马逊
海豚之谜
无人机网(www.youuav.com)1月31日报道美媒的消息称,现在我们已经知道与传统方法相比,无人机是偏远地区收集数据的理想工具,易于操作且部署成本低,这...
综合资讯
作者:
秦玄
2018-01-31 13:54
波音推出能运送数百斤货物的巨型无人机,分分钟教京东
亚马逊
学做人
今天,波音公司推出了能够运送约450斤货物的巨型无人机,波音将其称为“无人驾驶电动垂直起降(eVTOL)货运飞行器(CAV)原型设备”,该航空巨头称其...
综合资讯
2018-01-12 08:30
亚马逊
新式无人机疑似曝光 使用复杂避障技术
据英国《每日邮报》12月4日报道,近日,有人发现
亚马逊
的产品工程师正在测试其无人机模型。据说,他们正在测试
亚马逊
无人机极其复杂的“感知和回避”...
综合资讯
2017-12-06 13:40
亚马逊
专利:无人机在空中自动分解防止造成更大损坏
12月2日据国外媒体报道,在无人机送货的过程中,最让人担心的就是如果一旦中途出现故障所带来的后果,最有可能发生的就是从空中掉到地上摔坏。
亚马逊
...
综合资讯
2017-12-03 08:35
原创
亚马逊
无人机专利,在紧急情况下可自毁长城
最近的一份专利显示,如果出现紧急情况,那么
亚马逊
的专利就可以派上用场。那就是,缺点或者失去控制的无人机在接近目标的时候,可以自动空中解体。这被小...
综合资讯
作者:
彭蠡
2017-12-02 08:33
亚马逊
无人机新专利:飞行遇险可自行解体
今年以来,
亚马逊
为应对全国性无人机快递网络,申请了大量专利。随着无人机快递网络的不断组建,白宫行政当局要求在实施无人机快递法规之前扩大无人...
综合资讯
2017-11-30 17:14
亚马逊
探索无人机为电动车续电技术 抢先申请专利
10月24日消息,
亚马逊
公司最近因为探索无人机为行驶中汽车充电的技术而获得一项技术专利。从专利资料中,我们可以了解到,这项技术能够在附近没有充电站或...
综合资讯
2017-10-25 15:37
亚马逊
新专利让无人机给电动汽车充电
你的下一辆电动汽车可能由无人机来帮你充电。本月初,
亚马逊
获得了一项专利。该专利详细说明了
亚马逊
无人机降落到电动汽车上,并在汽车行驶过...
综合资讯
2017-10-19 07:25
亚马逊
新专利:让无人机成为电动车的空中充电站
电商巨头
亚马逊
最近提交的一项专利显示,他们可能正打算利用无人机来给电动汽车充电。
亚马逊
专利中描述的这款无人机能够放置一个电池充电器,来为...
综合资讯
2017-10-19 07:07
共
235
条|
7
/
16
页
首页
上一页
5
6
7
8
9
下一页
末页
热点资讯
1
教育观察② | “馆校协同”打通育人边界,凝聚育人合力
2
“黑暗之光”搜救一体无人机的救援物资投送演示
3
蓝天为场,绿茵飞驰!旭日蓝天邀你赴一场科技与运动的低空之约
4
携手四大央企,普宙科技亮相2025中国5G+工业互联网大会
5
安全为基,中科星图六大核心技术引领低空经济安全发展
6
无人机“移动”机场:海上智能巡检的革新力量
7
正式发布!“星眼”太空感知星座构筑太空安全新防线
8
高巨创新亮相上海国际休闲度假博览会,全时域无人机开启文旅表达新纪元
9
异能无人机盛迎常平镇老干部党支部,开展党建共建暨11月主题党日活动
10
锚定产业黄金周期,纵横股份以“链主”实力引领低空经济发展
推荐图文
斗山(Mobility Innovation)与 Vicor合作。实现商用氢燃料电池无人机
无人机模仿昆虫飞行来解决复杂的飞行任务
《新品》Skyfish推出新型自主商用无人机平台,也可搭载Sony Alpha相机
未来出行新方式!VTOL无人驾驶飞机来临
亿航的客运无人机迈出了城市空中交通的关键一步
日本“飞龙”无人机在室内自由演练
2025年无人机市场价值458亿美元复合年增长率15.5%
租赁无人机,1天100元,首月免费用!夜间照明系统施工、抢险、应急救援利器!
无人机领域的滴滴终于来了——城市长老招募中
XAAC 2020|极飞科技年度大会公众报名通道上线啦!
最新资讯
更多>>
廖小罕:发展低空经济与建设低空公共航路研究报告
2025亚洲通航展圆满收官 l 历正科技以创新产品引领低空安防新时代
2025 LPS上海国际高端房产盛会携手官方合作伙伴千机科技荣耀启幕!
防患于未“燃”!云圣智能为城市构筑“空中防火墙”
普宙科技出席世界物联网大会并发表演讲
低空特种物流应用新规范 |《中大型无人驾驶航空器地质勘查物资运输作业规程》正式发布
零重力飞机工业战略投资祥源通航,构筑低空经济全链条生态闭环
飞鹏动态 | 云品出山 + 低空联运!时代飞鹏助力云南首个高原特色农产品低空多式联运试点成功启动
普宙科技被授予中国AOPA无人机防控技术分会“副会长单位”
关注官方微信
手机扫码看新闻