无人机网(www.youuav.com)数据中心援引国家知识产权局的专利数据称,发明授权专利:一种无人机装卸系统、无人机以及装卸平台,授权公告日:2019.07.09,授权公告号:CN109649660B,申请号:2019101915763,专利权人:北京三快在线科技有限公司。
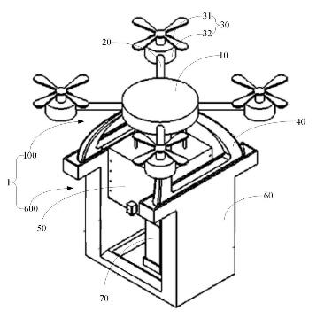
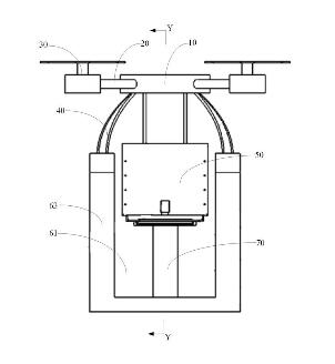
在这份发明专利中,描述了一种无人机装卸系统,该无人机装卸系统包括:无人机,包括起落架和货架,其中货架包括用于装载货物的收容腔、供货物进出所述收容腔的开口、锁定机构及限位结构,锁定机构包括锁定件和弹性件,锁定件包括连接端与活动端,连接端与收容腔内壁可转动地连接,弹性件连接锁定件与货架,用于控制活动端在第一位置与第二位置之间切换;装卸平台,包括停机机构、装卸机构和控制系统,其中所述装卸机构包括升降机构,控制系统能够通过控制装卸机构的升降机构将锁定件的活动端在第一位置与第二位置之间切换,使得锁定机构处于锁定状态或打开状态,从而实现货物装载和卸载。
该无人机装卸系统,通过在无人机上设置纯机械结构的锁定部件实现对货物的固定或解锁,通过控制系统控制外部装卸机构与锁定部件配合,从而实现无人机物流货物的全自动装载和卸载。如此,利用机械机构替代电动开关门、电动锁止机构等电驱动机构,从而降低了无人机的自重和维护成本,提高了物流夫人机的续航里程。
本申请涉及物流运输领域,尤其涉及一种无人机装卸系统、无人机及装卸平台。由于物流无人机对自重和电池能耗均有较高要求,而现有的电驱动机构既增加了无人机的自重且需要额外的电力带动,在物流无人机的规模化经营和落地之后,现有的电驱动方案将增大无人机的能耗,缩短无人机的续航里程,从而增加了整体的运营成本。此外,电驱动结构还存在结构和控制复杂、可靠性和稳定性不足的问题。为此,本发明专利可以解决至少部分解决上述技术问题。















