您好,
欢迎访问
无人机网(www.youuav.com)
!
帐号管理
收藏夹
退出
消息
0
请登录
免费注册
手机关注
微信号:youuav
关注官方微信
m.youuav.com
手机扫码看新闻
我的办公室
销售
发布产品
管理产品
求购
发布求购
管理求购
添加收藏
关于我们
广告服务
广告服务
关键词排名
会员升级
帮助中心
常见问题
买家帮助
卖家帮助
问题反馈
网站导航
资讯
企业
产品
品牌
采购
展会
视频
专题
杂志
资讯
资讯
企业
产品
品牌
采购
展会
视频
专题
杂志
搜索
发布询价单
全部产品分类
无人机整机
载人无人机
教育编程无人机
太阳能无人机
消费级无人机
航拍无人机
穿越机
遥控航模
行业应用无人机
巡检无人机
农业植保无人机
影视摄影无人机
测绘勘探无人机
灭火消防无人机
应急救援无人机
警用安防无人机
物流运输无人机
油电混合无人机
飞行平台
系留无人机
氢燃料电池无人机
水质空气检测无人机
气象无人机
军用无人机
战斗无人机
侦查无人机
诱饵无人机
电子对抗无人机
靶机
通信中继无人机
其他
无人机整机
无人机配件
飞控
云台
电池
电机
发动机
电调
螺旋桨
遥控器
有效载荷
机架
综合保障
飞行眼镜
图传数传
地面站
定位模块
成像系统
激光雷达
应用软件
喊话器
充电器
抛投设备
探照灯
热成像仪
其他配套产品
无人机配件
无人机服务
无人机保险
环保监控
河道巡检
无人机编队
培训服务
植保服务
数据加工
航拍摄影
电力拉线
电力巡检
广告影视
测绘服务
其他服务
无人机服务
设备与工具
制造设备
测量设备
航拍设备
其他设备与工具
设备与工具
反无人机
无人机解决方案
测绘解决方案
警用解决方案
消防解决方案
反无人机解决方案
应急救援解决方案
物流运输解决方案
无人机解决方案
无人机其他
杂志
贸易和代理商
社团
物流
协会
其他
无人机其他
水下无人机(潜航器)
消费级产品
企业级产品
教育科研产品
水下无人机配件
水下无人机(潜航器)
无人船
环境监测
海洋调查
安防救援
无人航运
无人船配件
无人船
首页
资讯
企业
产品
品牌
采购
展会
视频
专题
杂志
地图
综合资讯
国内资讯
国际资讯
特种动态
应用领域
科技探索
新品发布
企业动态
无人系统
展会动态
UAV评测
市场分析
百科知识
人物访谈
组织协会
政策法律
教育培训
航拍图库
保险
DIY
赛事活动
排行榜
反无人机
低空经济
您的位置:
首页
>
资讯
>
综合资讯
(
共
25933
条|
372
/
1729
页
)
首页
资讯
行业专家
排序方式
按时间
按人气
最新资讯
我网原创
展会资讯
公司动态
热带作物无人机飞防,大有可为!
【环球网无人机综合报道】9 月 8 日,大疆农业与中国热带农业科学院环境与植物保护研究所在海口签署了战略合作协议,联合推进我国数字农业和无人机植保技术可...
综合资讯
作者:环球网
2020-09-10 19:13
俄制无人机终于崛起:配套弹药超美赶中,只差实战看成色
不久前俄军举办的“军队-2020”论坛上,俄军工展示了4吨级“赫利俄斯-RLD”、2.5吨级“天狼星”、1吨级“猎户座”等3型相对成熟的察打一体无人机,堪称全场焦点...
综合资讯
作者:贞观防务
2020-09-10 16:35
亚马逊获得了美国联邦航空局关于其无人机交付机队的批准
8月31日,美国联邦航空管理局(FAA)批准了亚马逊可以运营它的Prime Air无人机交付机队。这件事为什么重要?因为亚马逊的市值之所以这么高,很大一部分原因,是...
综合资讯
作者:硅发布
2020-09-10 16:32
孩子“出逃”的夏天:无人机、VR,那个叫武汉的新世界
赵湾乡小学六年级的王梓萱觉得暑假没劲透了。她每天睡到中午,学校响应减负,没多少作业可做。手机是好玩,可来来回回也就游戏和短视频。那时她没想到,在今年最...
综合资讯
作者:谷雨影像
2020-09-10 16:24
陆军第78集团军正在北疆某陌生地域组织无人机专业骨干集训
连日来,陆军第78集团军正在北疆某陌生地域组织无人机专业骨干集训。截至目前,所有参训部队均已完成首次飞行。该集团军组织此次无人机专业骨干集训,旨在夯实官...
综合资讯
作者:北疆卫士号
2020-09-10 14:46
人工智能击败人类飞行员 无人机将主导未来空战?
埃斯珀说,人工智能在模拟对战中的胜利证明了先进算法可以超出人类,2024年将要进行的人工智能与人类飞行员真机对战演习将会是人机对战试验的最高峰。此次模拟对...
综合资讯
作者:马岩
2020-09-10 14:45
原创
斯洛文尼亚Pipistrel公司的Nuuva系列货运无人机
飞行中的Nuuva V300斯洛文尼亚,卢布雅那,9月8日(SeeNews)——斯洛文尼亚轻型飞机制造商Pipistrel公司表示,已经开始接受其Nuuva系列货运无人机的报价,该无人...
综合资讯
作者:雨歌
2020-09-09 18:06
原创
以色列的新型无人直升机系统平台
以色列航空航天工业公司(IAI)已经推出了MultiFlyer,一个由小型无人直升机组成的无人机中队,可以完成各种非军事任务。MultiFlyer为大区域提供先进的监控能力,...
综合资讯
作者:雨歌
2020-09-09 18:05
以人工智能之名,MQ-9展开“敏捷神鹰”吊舱飞行测试
通用原子公司(GS-ASI)9月3日宣布将开始“敏捷神鹰”(Agile Condor)吊舱的测试,挂载这种吊舱的MQ-9“捕食者”无人机将在位于北达科他州大福克斯的飞行测试...
综合资讯
作者: 彩虹
2020-09-09 17:43
感恩教师节——长光禹辰MS600系列产品“以旧换新”,惊喜开场!
教师节快乐!2020年9月10日以旧换新惊喜开场金秋九月,好运袭来,长光禹辰为响应广大客户朋友的反馈,特进行以旧换新活动。产品对比2018年年底长光禹辰推出MS600...
企业动态
综合资讯
国内资讯
作者:长光禹辰
2020-09-09 16:24
美军隐身无人机已部署亚洲?美媒:祝中国好运 网友:祝美国平安
随着疫情在全球蔓延,美国约翰斯·霍普金斯大学数据显示,目前全美新冠肺炎确诊病例达超过629万例,死亡人数约19万人,与中国相比,美国简直就是重灾区,然而在...
综合资讯
作者:铁哨哨位
2020-09-09 10:34
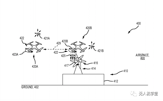
迪斯尼新专利曝光:用无人机来制作创意表演元素之空中表演系统
(图源网络,侵删)迪斯尼(Disney)近年也相当拥抱无人机技术,除了用无人机光影涂鸦来取代烟火表演、开发涂鸦无人机之外,近日也取得一项名为「使用无人机力量...
综合资讯
作者:无人机学堂
2020-09-09 10:32
美国碰到实力派!华为那套不管用,该公司“先进”的不像中国企业
美国制裁华为的事情如今是人尽皆知,而除了华为外,还有一家企业也给美国制造了很大的压力。但在该企业身上,华为那套不管用,该公司“先进”的不像中国企业。而...
综合资讯
作者:兵器杂志
2020-09-09 10:30
无人机搭档 “小飞人”
近日,国网天津检修公司输电运检中心工作人员带电消除1000千伏廊河二线危急缺陷。此次工作,首次采用“小飞人”电动爬升装置辅助方式,仅有1名工作人员进行高空...
综合资讯
作者:张磊 霍庆悦
2020-09-09 10:28
新型无人机部署亚洲,美媒:祝中国好运,网友:真够搞笑
近日,美国《国家利益网》发布一则标题为“祝你好运,中国:美国空军RQ-180隐身无人机正在飞往亚洲”的文章,其作者大卫·阿克斯为该网站的防务编辑,同时也是多...
综合资讯
作者:全球防务看点
2020-09-09 10:26
共
25933
条|
372
/
1729
页
首页
上一页
370
371
372
373
374
下一页
末页
热点资讯
1
科普进校园 创新向未来——无人机科普活动走进涡阳县第十六中学
推荐图文
斗山(Mobility Innovation)与 Vicor合作。实现商用氢燃料电池无人机
无人机模仿昆虫飞行来解决复杂的飞行任务
《新品》Skyfish推出新型自主商用无人机平台,也可搭载Sony Alpha相机
未来出行新方式!VTOL无人驾驶飞机来临
亿航的客运无人机迈出了城市空中交通的关键一步
日本“飞龙”无人机在室内自由演练
2025年无人机市场价值458亿美元复合年增长率15.5%
租赁无人机,1天100元,首月免费用!夜间照明系统施工、抢险、应急救援利器!
无人机领域的滴滴终于来了——城市长老招募中
XAAC 2020|极飞科技年度大会公众报名通道上线啦!
最新资讯
更多>>
科普进校园 创新向未来——无人机科普活动走进涡阳县第十六中学
无人机出动!新会公安最新提醒
资讯共享 | 教育行业一周资讯速览
4200家锐减至2703家:无人机培训迎来“史上最严洗牌”,学费将涨价!
稀罕!邯郸魏县无人机“踢”起了足球 Image
刷屏春节档:智航飞碟表演闪耀五城迎新春!
震撼山城!春节无人机秀刷屏,重庆文旅消费再创新高
从新规到马年春晚,无人机市场终于开始好玩起来了!
千架无人机点亮玉林夜空
关注官方微信
手机扫码看新闻