您好,
欢迎访问
无人机网(www.youuav.com)
!
帐号管理
收藏夹
退出
消息
0
请登录
免费注册
手机关注
微信号:youuav
关注官方微信
m.youuav.com
手机扫码看新闻
我的办公室
销售
发布产品
管理产品
求购
发布求购
管理求购
添加收藏
关于我们
广告服务
广告服务
关键词排名
会员升级
帮助中心
常见问题
买家帮助
卖家帮助
问题反馈
网站导航
资讯
企业
产品
品牌
采购
展会
视频
专题
杂志
资讯
资讯
企业
产品
品牌
采购
展会
视频
专题
杂志
搜索
发布询价单
全部产品分类
无人机整机
载人无人机
教育编程无人机
太阳能无人机
消费级无人机
航拍无人机
穿越机
遥控航模
行业应用无人机
巡检无人机
农业植保无人机
影视摄影无人机
测绘勘探无人机
灭火消防无人机
应急救援无人机
警用安防无人机
物流运输无人机
油电混合无人机
飞行平台
系留无人机
氢燃料电池无人机
水质空气检测无人机
气象无人机
军用无人机
战斗无人机
侦查无人机
诱饵无人机
电子对抗无人机
靶机
通信中继无人机
其他
无人机整机
无人机配件
飞控
云台
电池
电机
发动机
电调
螺旋桨
遥控器
有效载荷
机架
综合保障
飞行眼镜
图传数传
地面站
定位模块
成像系统
激光雷达
应用软件
喊话器
充电器
抛投设备
探照灯
热成像仪
其他配套产品
无人机配件
无人机服务
无人机保险
环保监控
河道巡检
无人机编队
培训服务
植保服务
数据加工
航拍摄影
电力拉线
电力巡检
广告影视
测绘服务
其他服务
无人机服务
设备与工具
制造设备
测量设备
航拍设备
其他设备与工具
设备与工具
反无人机
无人机解决方案
测绘解决方案
警用解决方案
消防解决方案
反无人机解决方案
应急救援解决方案
物流运输解决方案
无人机解决方案
无人机其他
杂志
贸易和代理商
社团
物流
协会
其他
无人机其他
水下无人机(潜航器)
消费级产品
企业级产品
教育科研产品
水下无人机配件
水下无人机(潜航器)
无人船
环境监测
海洋调查
安防救援
无人航运
无人船配件
无人船
首页
资讯
企业
产品
品牌
采购
展会
视频
专题
杂志
地图
综合资讯
国内资讯
国际资讯
特种动态
应用领域
科技探索
新品发布
企业动态
无人系统
展会动态
UAV评测
市场分析
百科知识
人物访谈
组织协会
政策法律
教育培训
航拍图库
保险
DIY
赛事活动
排行榜
反无人机
低空经济
您的位置:
首页
>
资讯 搜索
(
共
4889
条|
146
/
326
页
)
首页
资讯
行业专家
排序方式
按时间
按人气
最新资讯
我网原创
展会资讯
公司动态
原创
英国国防部获得最新的纳米无人机技术
UAVTEK是一家总部位于英国的中小型企业,在赢得了英国国防部MoD纳米无人机项目后,已经开发并向英国部队提供了最新的世界领先纳米无人机技术。英国国防部最近投...
特种动态
作者:雨歌
2020-07-16 20:59
原创
英国签署6500万英镑“保卫者”无人机的建造合同
英国已经签署了一项价值6500万英镑的合同,以建造其首批三架“保卫者”无人机。这是英国首个能够在世界任何地方执行打击任务的无人机系统。作为交易的一部分,通...
特种动态
作者:雨歌
2020-07-15 22:53
原创
美国加拿大联合开发无人机跨境合规性运营管理系统
两家无人机合规软件公司联手,使美加两国的跨境运营更加轻松。位于美国的无人机合规解决方案DroneLogbook和AirMarket(加拿大的商业合规和空域管理解决方案)已...
综合资讯
作者:雨歌
2020-07-15 22:51
原创
Trillium公司将为洛克希德的‘跟踪者’小型无人机提供光电传感器
位于加州帕姆代尔的洛克希德·马丁公司臭鼬工厂的无人机设计者们需要为公司的“跟踪者XE”小型静音无人驾驶飞机提供光电传感器。他们在俄勒冈州胡德河的Trillium...
综合资讯
作者:雨歌
2020-07-14 21:21
原创
波音公司的两款新型无人机
多数人可能对航拍的四轴飞行器比较熟悉,但是商业无人机博览会展出的无人机种类繁多,可以显示该行业的发展方向。大多数都比DJI Mavic等主流型号贵。这是波音的...
综合资讯
作者:雨歌
2020-07-14 21:19
原创
美国国防部通过CARES法案投资无人机公司
依据《冠状病毒援助、救济和经济安全法》(CARES Act),美国政府将发放1300多万美元,用于在当前COVID-19危机期间挽救就业和支持经济。美国国防部宣布了1340万美...
综合资讯
作者:雨歌
2020-07-13 21:56
原创
量子系统公司与Pix4D公司宣布正式合作
全球的专业人员都依赖Quantum-Systems的 eVTOL无人机,和Pix4D的套装软件来收集和后期处理飞行数据。两家公司之间的合作为无人机用户在采矿、农业、林业、测绘、...
综合资讯
作者:雨歌
2020-07-13 21:56
原创
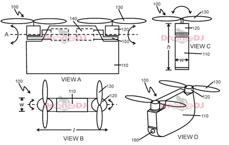
专利局公布大疆双旋翼无人机框架设计
【无人机网援引外媒资讯】 大疆公司申请了两项无人机专利设计,一款是双翼直升机,另一款可能是FPV或赛车风格的新四旋翼无人机。图纸上显示的是一个长方形的双...
综合资讯
作者:雨歌
2020-07-13 16:30
原创
无人机十大焦点新闻,本周回顾!
注:以下是无人机网官方整理本周内十大重要/精彩事件,仅代表我网对本周事件的一些看法和分享,收集和整理与无人机行业朋友一起分享,共同支持我国无人机事业的...
综合资讯
作者:无人机网
2020-07-13 16:22
原创
美国空军计划2023年前装备战斗无人机
美国空军计划在2023年之前拥有一架作战战斗无人机。该服务计划建造一个名为Skyborg的无人飞机家族,这种飞机可以携带武器并参与战斗。空军的目标是建立一支庞大...
国际资讯
作者:Bill
2020-07-10 22:01
原创
AeroDefense发布移动无人机检测解决方案
当今的无人机威胁证实了对空域安全的迫切需求。AeroDefense的AirWarden的移动无人机检测技术为安全团队和执法部门提供了可操作的无人机和飞行员位置情报,以实现...
国际资讯
作者:Bill
2020-07-10 22:00
原创
Parrot与Hoverseen合作 打造无人机自动机场解决方案
无人机网援引外媒消息,法国无人机制造商Parrot与自动无人机机场提供商Hoverseen合作,将使Parrot的ANAFI Thermal和ANAFI USA能够通过Hoverseen机场进行部署。...
国际资讯
作者:Bill
2020-07-10 21:59
原创
BMCC收到价值26万美元的无人机捐赠
俄勒冈州彭德尔顿——蓝山社区大学(BMCC)收到了华盛顿州卡马斯的“Digital Harvest”公司慷慨捐赠的4架无人机和相关设备,总价值26万美元。这笔捐款将用于支...
综合资讯
作者:雨歌
2020-07-10 21:38
原创
空客与德国军方续签服务拓展无人机军事用途
德国联邦军备IT技术支持办公室(BAAINBw)与欧洲空客防务和太空公司,续签了在阿富汗和马里运营的苍鹭I无人机(UAV)服务合同。空中客车公司于7月9日在马里表示...
综合资讯
作者:无人机网
2020-07-09 15:29
原创
无人机和空中交通工具将如何改变我们的城市
在不久的将来,无人机、个人飞行器和空中出租车可能会成为我们日常生活的一部分。无人机和空中出租车将创造新的机动性和运输路线。随着无人机向自动化方向发展,...
综合资讯
作者:雨歌
2020-07-08 22:50
共
4889
条|
146
/
326
页
首页
上一页
144
145
146
147
148
下一页
末页
热点资讯
1
AOPA航拍应用技术课程十二月开班通告
2
沈北新区(辉山经开区)低空物流体系再添硬核支撑!全吨位货运无人机矩阵成型,产业集群再提速
3
织密低空防线 守护空域秩序 上海警方聚焦关键领域筑牢无人机合规飞行安全屏障
4
郑州无人机产业:低空经济的中原崛起样本
5
性价比炸场!7.19万起,两款大载重长航时纯电复合翼无人机上新
6
司南导航年度新品 | 北斗高精度定位芯片模组
7
2025企业家博鳌论坛:无人机表演演绎“十五五”新机遇,千机科技携手新华社共绘低空经济蓝图!
8
湖南深入实施“人工智能+低空经济”行动,华诺星空这样做
9
云圣智能“路空一体立体交通智慧巡检方案”获交通运输部国家级期刊《交通建设与管理》收录并权威刊发
10
测绘应用赋能万物互联,司南导航以创新成果点亮CHINTERGEO 2025
推荐图文
斗山(Mobility Innovation)与 Vicor合作。实现商用氢燃料电池无人机
无人机模仿昆虫飞行来解决复杂的飞行任务
《新品》Skyfish推出新型自主商用无人机平台,也可搭载Sony Alpha相机
未来出行新方式!VTOL无人驾驶飞机来临
亿航的客运无人机迈出了城市空中交通的关键一步
日本“飞龙”无人机在室内自由演练
2025年无人机市场价值458亿美元复合年增长率15.5%
租赁无人机,1天100元,首月免费用!夜间照明系统施工、抢险、应急救援利器!
无人机领域的滴滴终于来了——城市长老招募中
XAAC 2020|极飞科技年度大会公众报名通道上线啦!
最新资讯
更多>>
教育观察④ | AI时代校本课程突围:从“百花齐放”到“三重融合”的体系重构
智汇海珠 翼展云图丨中科云图海珠总部正式入驻
天翼赛事|荆州市第二届“郢匠杯”职业技能大赛圆满落幕
对话人民网 | 昊舜视讯董事长陆福明:在“中国飞谷”,让无人机智慧赋能城市未来
鲲鹏展翅聚华章|宜鼎众城、云想传媒正式入驻鲲龙大厦,共启合作新未来!
武汉市人民政府副秘书长一行莅临我司飞行营地参观调研
普宙科技入选「2025中国科创好公司」榜单
氢航科技完成近7000万元融资,钧石资本领投,老股东兴华鼎立再加注!
让低空成为生产力:容祺智能以MAX320赋能丽水竹产业高质量发展
关注官方微信
手机扫码看新闻