您好,
欢迎访问
无人机网(www.youuav.com)
!
帐号管理
收藏夹
退出
消息
0
请登录
免费注册
手机关注
微信号:youuav
关注官方微信
m.youuav.com
手机扫码看新闻
我的办公室
销售
发布产品
管理产品
求购
发布求购
管理求购
添加收藏
关于我们
广告服务
广告服务
关键词排名
会员升级
帮助中心
常见问题
买家帮助
卖家帮助
问题反馈
网站导航
资讯
企业
产品
品牌
采购
展会
视频
专题
杂志
资讯
资讯
企业
产品
品牌
采购
展会
视频
专题
杂志
搜索
发布询价单
全部产品分类
无人机整机
载人无人机
教育编程无人机
太阳能无人机
消费级无人机
航拍无人机
穿越机
遥控航模
行业应用无人机
巡检无人机
农业植保无人机
影视摄影无人机
测绘勘探无人机
灭火消防无人机
应急救援无人机
警用安防无人机
物流运输无人机
油电混合无人机
飞行平台
系留无人机
氢燃料电池无人机
水质空气检测无人机
气象无人机
军用无人机
战斗无人机
侦查无人机
诱饵无人机
电子对抗无人机
靶机
通信中继无人机
其他
无人机整机
无人机配件
飞控
云台
电池
电机
发动机
电调
螺旋桨
遥控器
有效载荷
机架
综合保障
飞行眼镜
图传数传
地面站
定位模块
成像系统
激光雷达
应用软件
喊话器
充电器
抛投设备
探照灯
热成像仪
其他配套产品
无人机配件
无人机服务
无人机保险
环保监控
河道巡检
无人机编队
培训服务
植保服务
数据加工
航拍摄影
电力拉线
电力巡检
广告影视
测绘服务
其他服务
无人机服务
设备与工具
制造设备
测量设备
航拍设备
其他设备与工具
设备与工具
反无人机
无人机解决方案
测绘解决方案
警用解决方案
消防解决方案
反无人机解决方案
应急救援解决方案
物流运输解决方案
无人机解决方案
无人机其他
杂志
贸易和代理商
社团
物流
协会
其他
无人机其他
水下无人机(潜航器)
消费级产品
企业级产品
教育科研产品
水下无人机配件
水下无人机(潜航器)
无人船
环境监测
海洋调查
安防救援
无人航运
无人船配件
无人船
首页
资讯
企业
产品
品牌
采购
展会
视频
专题
杂志
地图
综合资讯
国内资讯
国际资讯
特种动态
应用领域
科技探索
新品发布
企业动态
无人系统
展会动态
UAV评测
市场分析
百科知识
人物访谈
组织协会
政策法律
教育培训
航拍图库
保险
DIY
赛事活动
排行榜
反无人机
低空经济
您的位置:
首页
>
资讯 搜索
关键字:
谷歌无人机
(
共
22
条|
2
/
2
页
)
首页
资讯
行业专家
排序方式
按时间
按人气
最新资讯
我网原创
展会资讯
公司动态
谷歌无人机
真正用途:不送快递竟为它
谷歌认为,通过让多台携带AED的无人机处于待命状态,在有病人急需AED时,它能做出更快的反应。GoogleX负责人戴夫·沃斯(DaveVos)表...
企业动态
2016-04-18 07:32
万万没想到
谷歌无人机
的真正用途是这个
据外媒MarketWatch报道,谷歌申请的一项专利透露了其无人机的真正用途:并不是炒得火热的送快递,而是运送医疗设备。万万...
应用领域
2016-04-07 08:39
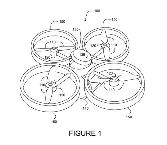
专利揭示
谷歌无人机
真正用途:运送医疗设备
北京时间4月6日消息,据财经网站MarketWatch报道,
谷歌无人机
近期内不会用于给用户送快递。谷歌周二被授予的一项专利显示,它对利...
应用领域
2016-04-07 07:30
谷歌无人机
Solara 50坠机事故报告公布--机翼问题
去年5月1日,隶属于谷歌公司的一架计划提供互联网服务平台的大型太阳能无人机Solara 50,试飞时失败坠毁。坠机事件发生在美国新墨西哥州...
国际资讯
作者:cnBeta.COM
2016-01-31 06:21
谷歌无人机
配送项目出新招 申请“配送容器”专利
导读:北京时间1月27日下午消息,谷歌的秘密无人机配送项目将包含一个能够安全保存包裹的组件。该公司周二在美国提交的专利申请文件描 ...
应用领域
2016-01-28 05:51
谷歌无人机
投递包裹视频首度曝光
据国外媒体报道,不只是亚马逊在尝试用无人机运送货物,Alphabet旗下的谷歌X也做着同样的试验,并且被拍到视频。
企业动态
2015-10-21 16:33
谷歌无人机
曝光:也是用来送快递的
亚马逊并不是唯一一家热衷于考虑使用无人机来运送快递的企业,谷歌旗下的研发部门“谷歌X”也早在几年之前就开展了名为“Project Wing”的无人机科研计划,而如今研究终于有所成果了。
企业动态
2015-10-20 16:46
共
22
条|
2
/
2
页
首页
上一页
1
2
热点资讯
1
教育观察② | “馆校协同”打通育人边界,凝聚育人合力
2
“黑暗之光”搜救一体无人机的救援物资投送演示
3
蓝天为场,绿茵飞驰!旭日蓝天邀你赴一场科技与运动的低空之约
4
携手四大央企,普宙科技亮相2025中国5G+工业互联网大会
5
安全为基,中科星图六大核心技术引领低空经济安全发展
6
无人机“移动”机场:海上智能巡检的革新力量
7
正式发布!“星眼”太空感知星座构筑太空安全新防线
8
高巨创新亮相上海国际休闲度假博览会,全时域无人机开启文旅表达新纪元
9
异能无人机盛迎常平镇老干部党支部,开展党建共建暨11月主题党日活动
10
锚定产业黄金周期,纵横股份以“链主”实力引领低空经济发展
推荐图文
斗山(Mobility Innovation)与 Vicor合作。实现商用氢燃料电池无人机
无人机模仿昆虫飞行来解决复杂的飞行任务
《新品》Skyfish推出新型自主商用无人机平台,也可搭载Sony Alpha相机
未来出行新方式!VTOL无人驾驶飞机来临
亿航的客运无人机迈出了城市空中交通的关键一步
日本“飞龙”无人机在室内自由演练
2025年无人机市场价值458亿美元复合年增长率15.5%
租赁无人机,1天100元,首月免费用!夜间照明系统施工、抢险、应急救援利器!
无人机领域的滴滴终于来了——城市长老招募中
XAAC 2020|极飞科技年度大会公众报名通道上线啦!
最新资讯
更多>>
廖小罕:发展低空经济与建设低空公共航路研究报告
2025亚洲通航展圆满收官 l 历正科技以创新产品引领低空安防新时代
2025 LPS上海国际高端房产盛会携手官方合作伙伴千机科技荣耀启幕!
防患于未“燃”!云圣智能为城市构筑“空中防火墙”
普宙科技出席世界物联网大会并发表演讲
低空特种物流应用新规范 |《中大型无人驾驶航空器地质勘查物资运输作业规程》正式发布
零重力飞机工业战略投资祥源通航,构筑低空经济全链条生态闭环
飞鹏动态 | 云品出山 + 低空联运!时代飞鹏助力云南首个高原特色农产品低空多式联运试点成功启动
普宙科技被授予中国AOPA无人机防控技术分会“副会长单位”
关注官方微信
手机扫码看新闻