经过近年的快速发展,LED照明产品已经较为普及。过去LED照明产品的推广通常都是打“节能”牌。在跨界整合的浪潮中,LED照明行业也在努力寻找借助跨界整合提高产品附加值的可能性。

其中,LED路灯频繁跨界整合,“LED路灯+”表现抢眼。例如,LED路灯+太阳能、LED路灯+物联网、LED路灯+充电桩等等。
英雄所见略同,正在费尽心思为物流无人机找安身之地的美国亚马逊,也瞄上了遍地都是的灯杆。
据悉,亚马逊公司申请了一项美国发明专利,这项专利的内容详细揭示了他们的“LED路灯+无人机”技术方案。

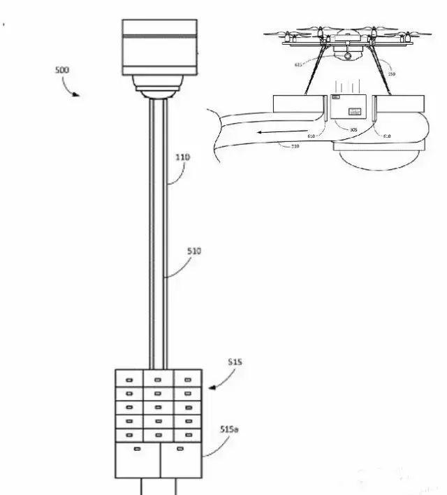
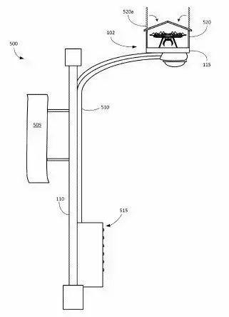
简单来说,就是在把LED路灯的头顶做成无人机的停机坪,这样无人机可以在城市的任何一条马路边上随时找到停机坪。
如果事情仅仅是这样,这件事就不够黑科技。
亚马逊的整体解决方案里面,包含了卫星、通讯基站、服务器、LED路灯、无人机。原本平凡的LED路灯是跟太空中的卫星在一起工作,瞬间高大上了。

LED路灯+无人机后,有太空卫星作同事,LED路灯也对自己提出了更高的要求,具备了更多的技能。
能为无人机提供充电、更换电池服务。

无人机续航需要充电,正好路灯拥有天生优势—“带电”,只需要在原来的灯杆上增加充电设施,不用再新开公共资源建充电设备,想想还是蛮合适哒!
能为无人机加燃料。

能传递包裹。脚底还配置了一个快递鸟箱。以后你会收到无人机发的短信,告知你有一件快递在你家门口马路边上第N根LED路灯里。哈哈!

看到了吗?快递是从LED路灯灯杆空心的肚子里,在重力作用下,直接滑进鸟箱。
更方便的是,亚马逊还大胆构想,未来的无人机可以设定将包裹自动投递到地板或屋顶上设置有活门的建筑物内,然后建筑物内本身内置的管道、电梯传输系统则可以自动将包裹送至用户指定的地点或者楼层。
在恶劣天气,为无人机遮风挡雨,提供庇护。

讲了这么多,总算明白,难怪黑科技会看上智慧路灯,原来是为他们家无人机找了个贴心暖男。
可以想像一下,未来的智慧路灯管理系统对各个路灯的分布情况了如指掌,该系统会根据路灯的位置迅速计算出无人机飞行停靠中转站的最短的路径,然后结合风速、人流、车流密集度等其他因素给出最优路径,从而让无人机快速有效的进行空中快递。













