您好,
欢迎访问
无人机网(www.youuav.com)
!
帐号管理
收藏夹
退出
消息
0
请登录
免费注册
手机关注
微信号:youuav
关注官方微信
m.youuav.com
手机扫码看新闻
我的办公室
销售
发布产品
管理产品
求购
发布求购
管理求购
添加收藏
关于我们
广告服务
广告服务
关键词排名
会员升级
帮助中心
常见问题
买家帮助
卖家帮助
问题反馈
网站导航
资讯
企业
产品
品牌
采购
展会
视频
专题
杂志
资讯
资讯
企业
产品
品牌
采购
展会
视频
专题
杂志
搜索
发布询价单
全部产品分类
无人机整机
载人无人机
教育编程无人机
太阳能无人机
消费级无人机
航拍无人机
穿越机
遥控航模
行业应用无人机
巡检无人机
农业植保无人机
影视摄影无人机
测绘勘探无人机
灭火消防无人机
应急救援无人机
警用安防无人机
物流运输无人机
油电混合无人机
飞行平台
系留无人机
氢燃料电池无人机
水质空气检测无人机
气象无人机
军用无人机
战斗无人机
侦查无人机
诱饵无人机
电子对抗无人机
靶机
通信中继无人机
其他
无人机整机
无人机配件
飞控
云台
电池
电机
发动机
电调
螺旋桨
遥控器
有效载荷
机架
综合保障
飞行眼镜
图传数传
地面站
定位模块
成像系统
激光雷达
应用软件
喊话器
充电器
抛投设备
探照灯
热成像仪
其他配套产品
无人机配件
无人机服务
无人机保险
环保监控
河道巡检
无人机编队
培训服务
植保服务
数据加工
航拍摄影
电力拉线
电力巡检
广告影视
测绘服务
其他服务
无人机服务
设备与工具
制造设备
测量设备
航拍设备
其他设备与工具
设备与工具
反无人机
无人机解决方案
测绘解决方案
警用解决方案
消防解决方案
反无人机解决方案
应急救援解决方案
物流运输解决方案
无人机解决方案
无人机其他
杂志
贸易和代理商
社团
物流
协会
其他
无人机其他
水下无人机(潜航器)
消费级产品
企业级产品
教育科研产品
水下无人机配件
水下无人机(潜航器)
无人船
环境监测
海洋调查
安防救援
无人航运
无人船配件
无人船
首页
资讯
企业
产品
品牌
采购
展会
视频
专题
杂志
地图
综合资讯
国内资讯
国际资讯
特种动态
应用领域
科技探索
新品发布
企业动态
无人系统
展会动态
UAV评测
市场分析
百科知识
人物访谈
组织协会
政策法律
教育培训
航拍图库
保险
DIY
赛事活动
排行榜
反无人机
低空经济
您的位置:
首页
>
资讯
>
国际资讯
(
共
3584
条|
170
/
239
页
)
首页
资讯
行业专家
排序方式
按时间
按人气
最新资讯
我网原创
展会资讯
公司动态
巡查无人机:FLIR公司以4,800万美元的国防合同飙升
FLIR是总部位于俄勒冈州的一家热成像公司,可能很快将帮助美国军方减轻、潜在的核、及生物化学攻击的危险。 FLIR系统最近宣布已赢...
国际资讯
综合资讯
作者:郑宇
2019-04-25 16:44
谷歌送货无人机业务获FAA批准 将首先在农村试点
北京时间4月24日早间消息,据彭博社报道,Alphabet旗下的谷歌成为了第一家获得政府批准,取得了航空公司资格的无人机运营商,这对于谷歌来说...
国际资讯
作者:行云
2019-04-24 08:47
西科斯基公司开发城市空中出租车技术
【据英国《飞行国际》网站2019年3月4日报道】西科斯基公司开始进军城市空中交通领域,旨在联合其他公司共同开展技术研究与基础设施开发,推动城市...
国际资讯
作者:穆作栋
2019-03-06 08:34
韩国韩华系统公司开发反无人机系统
【据uasvision网站2019年3月5日报道】韩国韩华系统公司正在研发一种反无人机系统,并正在对第一个原型系统进行综合测试。该原型系统包含一个双面...
国际资讯
作者:刘秀
2019-03-06 08:32
英政府扩大机场无人机禁飞范围 五公里内禁止操作
英国政府20日宣布,从3月起,距离英国所有机场五公里范围内将禁止操作无人机。 英国交通部发出通告称:“扩大禁飞范围将能更...
国际资讯
2019-02-20 14:22
美国NIAS无人航空试验场将用作FAA UTM试验项目基地
【据unmannedsystemstechnology网站2019年01月16日报道】美国内华达州自主系统研究所(NIAS)宣布,其无人航空试验场已被美国运输部(DOT)和联邦航空...
国际资讯
作者:彩林
2019-01-19 09:34
美国FAA发布无人机身份识别建议征询书
【据uasvision网站2019年1月15日报道】美国联邦航空管理局(FAA)在近期发布的一份建议征询书(RFI)中表示,希望寻找合作伙伴开发一种切实可行的办法...
国际资讯
作者:刘秀
2019-01-17 09:06
Alphabet测试无人机新系统 或为无人机商用铺路
新浪科技讯 北京时间1月14日上午消息,Alphabet旗下无人机配送部门Wing和另外两家公司表示,它们测试了一个用于识别无人机的新系统,这很有...
国际资讯
2019-01-15 09:25
有飞机就能为所欲为?加拿大推出大型无人机法规
加拿大人使用"更大"的无人机有了新法规。如果想要驾驶特定大小的无人机(250克到55磅),就必须通过在线考试并获得飞行员证书。加拿大联邦交通部...
国际资讯
2019-01-13 10:54
无人飞行出租车年内试飞!日本掀“空中飞车”研发热潮
日媒称,日本正在掀起“空中飞车”研发热潮,可以让人们毫无压力地去到所有想去的地方,一场“出行革命”正在迫近。 据日本《...
国际资讯
2019-01-05 09:54
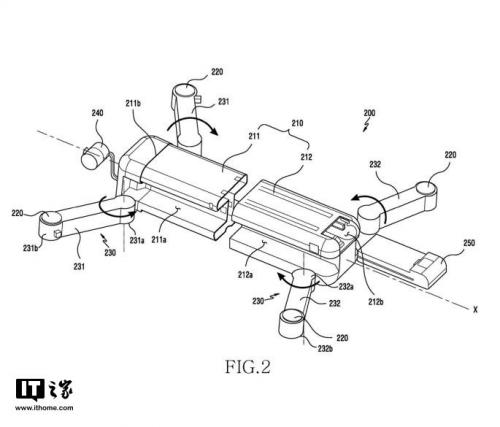
三星申请数项无人机专利
1月2日消息 据外媒dronedj的新闻,韩国电子巨头三星在过去几年中向美国专利商标局提交了多项无人机专利。据报道,2018年有5个,总共有16个无人机...
国际资讯
2019-01-03 08:56
送货无人机被指如F1赛车那样聒噪:市民请愿退出澳洲
多轴无人机越来越多在消费机市场、工业市场崭露头角,比如充当快递员的角色。然而,来自澳大利亚的1000多名居民联名请愿,要求这项服务中止。...
国际资讯
2018-12-30 10:28
2020东京奥运筹备严谨,日研修例禁无人机
2020 年奥运会选址东京,日本政府正积极研究有关无人机的使用条例。为严防恐袭,日本方面拟修法范大无人机禁飞区域,期望可在12 月召开以内阁官...
国际资讯
2018-11-21 09:04
现代投资美国初创公司 进军商用无人机领域
据韩联社11月15日报道,韩国现代汽车公司已投资美国初创公司Top Flight,将合作在全球高端无人机市场寻找商机。 现代公司的创投...
国际资讯
2018-11-16 15:32
印度意欲购买美制“复仇者”无人机
【据i-hls网站2018年11月1日报道】9月6日在新德里举行的“2+2”美印两国外长与防长会谈期间,印度军方提出购买美制“复仇者”无人机是双方会谈的...
国际资讯
作者:曹耀国
2018-11-05 08:53
共
3584
条|
170
/
239
页
首页
上一页
168
169
170
171
172
下一页
末页
热点资讯
推荐图文
斗山(Mobility Innovation)与 Vicor合作。实现商用氢燃料电池无人机
无人机模仿昆虫飞行来解决复杂的飞行任务
《新品》Skyfish推出新型自主商用无人机平台,也可搭载Sony Alpha相机
未来出行新方式!VTOL无人驾驶飞机来临
亿航的客运无人机迈出了城市空中交通的关键一步
日本“飞龙”无人机在室内自由演练
2025年无人机市场价值458亿美元复合年增长率15.5%
租赁无人机,1天100元,首月免费用!夜间照明系统施工、抢险、应急救援利器!
无人机领域的滴滴终于来了——城市长老招募中
XAAC 2020|极飞科技年度大会公众报名通道上线啦!
最新资讯
更多>>
无人机威胁升级,欧盟发布2026无人机安全行动计划
全球首款混合动力无人运输机彩虹YH-1000S首飞成功
稳驭不凡,极目当先 | 以科技为礼,百万美元捐赠助力全球农业人才成长
源奇科技与芯鼎科技将在CES 2026发布无人机AI影像方案
Infravision筹集9100万美元用于电力行业线路维护无人机项目
中国无人机科技为马里共和国打造国家庆典新范式
“外星战舰”空降内蒙古·康巴什低空盛宴
AerialMetric 和 Shearwater 助力马达加斯加医疗无人机网络建设
AirMatrix 和 Robin Radar 联合推出 AI 驱动的反无人机解决方案
关注官方微信
手机扫码看新闻