FMT作为国内首个基于模型开发的开源飞控系统,此前在多旋翼无人机F200上的各项测试结果均达预期。在圆满完成 F200的测试后,FMT项目组开始着手对固定翼飞控系统进行开发,目前FMT固定翼已实现自稳、定高、定点功能,航点功能预计在本月内实现,下方为FMT固定翼的功能测试视频:
当前用到的算法模型有:
导航:Base_INS
飞行管理:FW_FMS
控制器:FW_Controller
常规布局固定翼飞机由机身、机翼、水平尾翼、垂直尾翼四部分组成。本次FMT固定翼飞控开发的机型动力系统为左右机翼对称安置双发电机,操纵机构有机翼上的副翼、水平尾翼上的升降舵、垂直尾翼上的方向舵。
相对于多旋翼无人机飞控开发,固定翼飞机飞控开发难点主要在于固定翼飞机的空气动力学特性更为复杂,目前航空航天的飞行控制系统开发基本都是在已经算出飞机模型的空气动力学特性的情况下进行设计优化。而对于小型固定翼无人机,在没有已知的空气动力学特性的情况下,主要依靠试飞或者是开环仿真来进行参数的调节优化。
Stabilize(自稳)首先
,这个控制器主要实现飞机滚转角、俯仰角、偏航角速率的控制,对应着自稳功能的实现。自稳模式下的控制指令由FMS模块将遥控器通道的摇杆位置映射成滚转角、俯仰角、偏航角速率发出,Controller将接收到姿态角的期望值,同时接受到INS模块检测到的当前姿态角,将两者作差,得到姿态角误差输入,最终转化为副翼、升降、方向的三个舵偏角输出。首先滚转角、俯仰角误差值进入外环角度P控制转化为期望角速度,根据滚转角、俯仰角将计算出当下协调转弯的期望偏航角速度,同时偏航操纵杆映射的偏航角速率期望会与其相加。经过外环控制后,得到三个方向的滚转角速度,内环控制由期望值前馈控制和误差值pi控制组成,前馈能够提高系统的响应速度,积分控制器可以有效地消除稳态误差。经过前馈和pi控制得到归一化的飞机转动角速度,将得到的归一化指令通过混控器转化为PWM指令输出分配给末端的执行机构即电调和舵机。
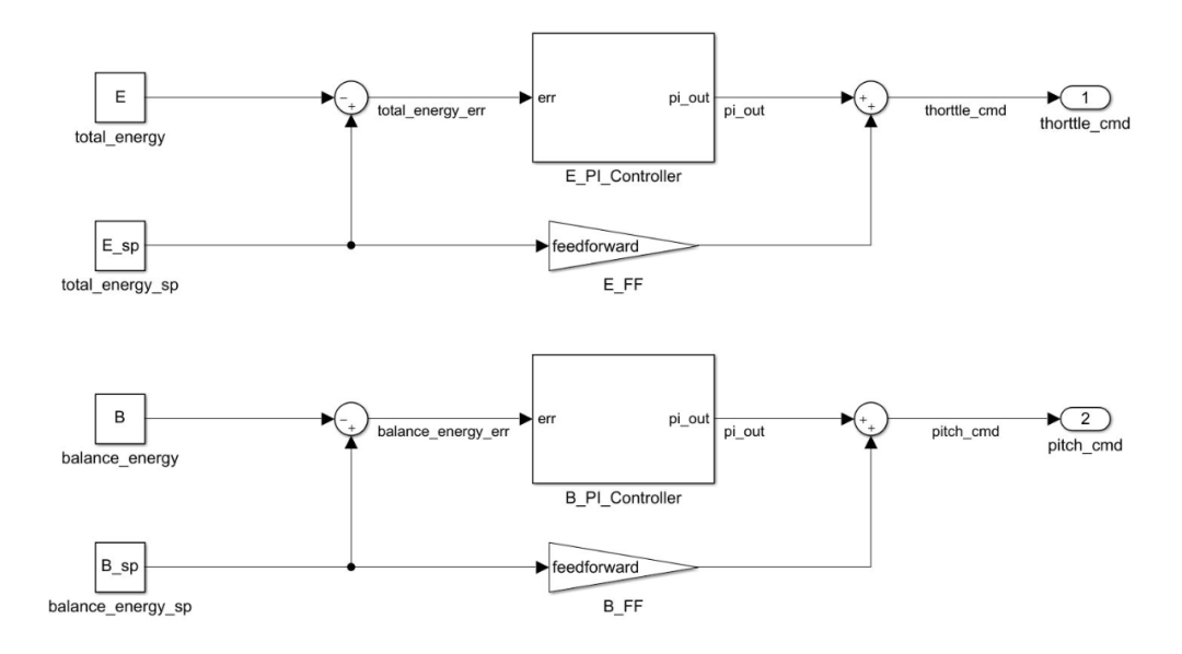
Altitude(定高)定高模式下,FMS将油门杆位置映射成需要控制的飞行速度,将俯仰杆位置映射为爬升下降速度,当检测到俯仰杆归中时,会记录回中时刻的高度值,以此刻的高度作为高度控制量,当出现扰动产生高度差时,则会输出垂直方向的速度制导指令。FMS最终将飞行速度和垂直方向速度指令发送给Controller的TECS CORE模块,由TECS CORE解算出最终的油门以及俯仰角指令,油门指令给到混控器,俯仰角指令给到姿态控制器,由姿态控制器解算出最终归一化指令发送给混控器。
定高模式其中核心算法为TECS总能量控制,关于总能量控制的数学原理在此不做详细讲解。算法核心为将总能量误差和平衡变化率误差采用pi控制,总能量和平衡变化率采用前馈控制。对应到实际物理状态下的表现为使用油门来控制飞机的总能量即动能加重力势能,用升降舵来控制动能和重力势能之间的平衡转化。
定点模式下,飞机将保持水平匀速直线飞行。相较于定高模式,定点模式会在定高的基础上保持当前航向,抵抗外界干扰(如侧风)对飞机飞行轨迹的偏离影响。具体实现为切换至定点模式时,FMS将根据当前的飞机朝向生成一条射线,以飞机为圆心,参数L1为半径作圆,圆与射线的交点生成为期望航点。FMS根据期望航点来生成L1的侧向期望加速度,将加速度指令发送给Controller,由Velocity Controller来解算出需要修正的期望滚转角。期望滚转角输入Attitude Controller,最终由Attitude Controller输出舵偏角。
















