无人机正迅速成为现代生活中不可或缺的工具,无论是作为制作令人惊叹的视频,还是作为未来必需品的传送系统。但是你可能从来没有考虑过在摩托车中内置一个无人机。
本田正在开发这个项目,它的研发部门已经为摩托车无人机申请了专利,专利文件描述了一种具有四个旋翼的无人机,该无人机位于摩托车的延长车尾壳体中,这是一台完全自主的飞行器,可以根据指令释放并在需要充电时自动返摩托车。
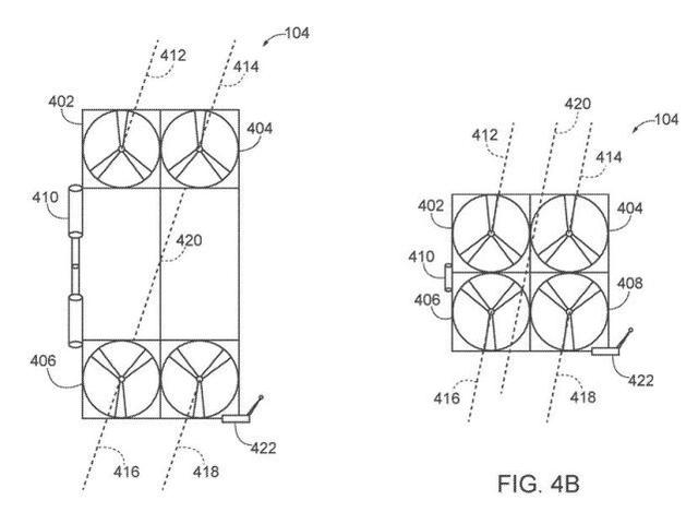
这是一个四轴飞行器,它既小到可以装在摩托车上,又大到可以携带能够推动同一辆电动车的电池。该无人机可以作为交通监控系统的一部分,观察前方的道路,并将信息反馈给摩托车的骑手,以在地面出现问题之前对其进行警告。
无人驾驶飞机还被建议作为一种通信中继,扩展摩托车本身的系统范围,本田甚至表示,停靠时可以将其整合到摩托车的冷却系统中,旋翼作为散热风扇将空气吸入散热器。
鉴于无人机,通信系统和摩托车都是行之有效的技术,你可能想知道本田实际上正在尝试申请什么专利。似乎骑摩托车的无人机的主要技术新颖之处在于可移动旋翼的系统,使四轴飞行器紧凑到足以装入摩托车的机壳,而且一旦旋翼被释放,旋翼可进一步分开,从而使旋翼更大更稳定。
值得注意的是,本田的专利清楚地表明了该无人机安装在电动运动摩托车上。虽然我们不能推断过于简单的图纸,但专利显示本田可能正在开发电动运动摩托车。
当然,这并不是第一次将摩托车和无人机组装在一起,乌拉尔于2018年制造了带有内置DJI Spark四轴飞行器的边三轮摩托。像本田的专利一样,乌拉尔设计建议将无人机用作侦察兵,检查前方的情况。与本田不同,乌拉尔(Ural)是一台完整的机器,但无人机并不是完全自动化的,乘客从侧面车上操作,并使用遥控器上的显示屏查看无人机的前方视线。

















