2月12日,复旦大学公开“复合式四旋翼无人机减震支架”专利,涉及无人机技术领域,该专利于2020年12月1日申请,申请公布号为CN112357066A。
从背景技术来看,无人机在着陆过程中,由于阵风或地面不平整等环境因素以及人为的操纵失误等因素,导致着陆过程不平缓,无人机着陆时遭受强烈震动,这对无人机内部的精密电子设备造成很大的威胁,因此,如何有效的解决无人机着陆时遭受强震动问题是本领域技术人员亟需克服的难题。
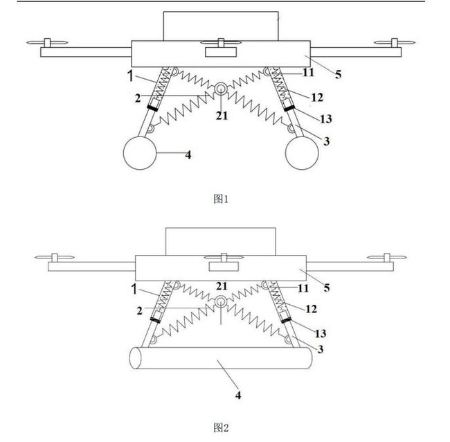
本发明涉及无人机技术领域,具体为一种复合式四旋翼无人机减震支架。所述复合式四旋翼无人机减震支架,所述复合式四旋翼无人机减震支架包括液压装置、支撑杆、支撑底座和复合式弹簧减震器;所述液压装置包括液压弹簧、端口密封件和第一固定件,且其内部填充有液压介质;所述支撑杆的一端贯穿所述端口密封件,与所述液压弹簧连接;所述复合式弹簧减震器包括至少2根交错设置的弹簧。
本发明公开的复合式四旋翼无人机减震支架的减震性能高,且选择减震海绵、液压装置以及复合式弹簧减震器作为减震材料,具有材料质量轻的特点,且可有效提高无人机机架的稳定性,避免因为冲击力导致无人机内部的精密的电子设备器材发生损坏。















