【无人机网援引外媒资讯】 大疆公司申请了两项无人机专利设计,一款是双翼直升机,另一款可能是FPV或赛车风格的新四旋翼无人机。图纸上显示的是一个长方形的双翼直升机和一个三角形的无人机框架。
去年年底,ZeroZero Robotics公司发布了其双翼直升机,由于保持无人机在空中飞行所需的发动机数量较少,其飞行时间达到了令人印象深刻的50分钟。在它发布之后,无人机业界就开始猜测大疆是否会进入双机市场。如今,大疆似乎正在探索双翼直升机的世界。
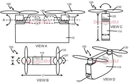
双旋翼这项专利展示了一个小矩形的圆形边缘,顶部装有两个马达,看起来可以安装在旋转的盘子上。这些板通过旋转来调整无人机产生的推力角度,从而弥补了四个马达的不足。图纸中我们还能看到什么看起来像一个摄像头孔在无人机的前面,从它的大小,我认为无人机,如果释放,会更有问题的无人驾驶飞机在空中飞行你可以迅速把酷角。
另一种可能性较小的选择是使用专注于军事行动的无人机,比如士兵可以在战场上部署的监视和侦察无人机。这是我没有料到的,因为由于美国政府暗示DJI的无人机会捕获私人数据,DJI在数据安全方面的名声不佳。
新的无人机框架
自从大疆发布FPV系统以来,人们一直在猜测,这是一款大疆赛车或FPV无人机。从摘要中我们知道,无人机的后肢可以向内推,导致前肢在无人机上折叠。我注意到的是手臂的设计和鹦鹉ANAFI USA非常相似。
看一下这幅图,我们可以看到,无人机的组成部分看起来是平的,就像许多赛车和FPV无人机一样。有两层可以用来保护无人机的组件。这幅图还向我们展示了电机,看起来已经安装在无人机上,ESCs也可能已经安装在无人机上。我们无法从这张图中看到任何其他组件,但这可能意味着该框架将预装电机和ESCs,让消费者使用自己熟悉的DJI组件或第三方组件。















