据外媒SlashGear报道,亚马逊已经申请了一种可以变成迷你飞艇的无人机专利,这是一种技术“混搭”。该专利于2016年初提交,但到周二才获得批准,该专利描述了一种无人驾驶飞行器(UAV),其可以转换为安静运行模式。

多年来,无人机在速度、航程和整体性能方面都有所提升,但是它们通常会产生大量噪音。亚马逊的策略是结合一些老式热气球技术来减少噪音污染。
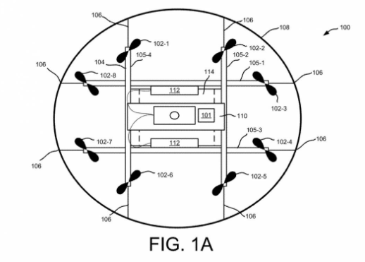
因此,其“ 带有充气膜的无人驾驶飞行器 ”将在机舱内部隐藏一个气球。这可以使用压缩气体通过在无人机上携带的气罐或腔室进行充气。当无人机漫游到需要削减噪音水平的区域时 - 例如亚马逊建议的交付地点 - 气球可以充气。

在这个过程中,这意味着传统的无人机螺旋桨将会有更少的工作要做,因为无人机的浮力将交由气球。然而亚马逊没有设想像微型齐柏林飞艇那样驾驶无人机。相反,气球系统将用于将UAV升高和降低到送货位置和从送货位置降低UAV。通过这种方式,它可以帮助减少实现巡航高度所涉及的噪音和能量,于是气球将被放气并聚集回其码头。无人机将前往交付目的地,然后气球将被重新充气。这可以用来然后轻轻地将飞机降低到地面,留下它的包裹。

当然,在快速旋转螺旋桨系统附近放置一个充气气球似乎是灾难的一种方法,因此亚马逊专利的一部分概述了两个元件将被分开的缩回机制。整个事情将由一个机载自动驾驶仪处理,气球被卷回到存储区域。无人机可以将用于充气的气体返回压缩室。

事实上,亚马逊建议的另一种可能性是完全可拆卸的气球。专利描述,然后可能会漂浮或生物降解,而不是重复使用。这不是亚马逊首次尝试解决交付噪音问题。早期的一项专利申请描述了一种系统,通过该系统,无人机可以从其巡航高度降落包裹,依靠降落伞轻轻地将它们放到正确的位置。
专利申请并不表示特定设备或产品实际上会推出,但可以看出亚马逊已经集中精力关注是否可以使用无人机进行交付。













