
不只是手机、游戏、音频、电视、影像,家大业大的索尼在很多方面都有涉猎。这里包括房地产、金融领域,以及索尼很久也没有提到过的无人机。
要说到索尼的无人机,那真的只有在 2015 年发布的那款飞行实验原型机 VTOL。

这款 VTOL 是一款商用无人机,它的载重能力为 9.98kg,最高时速可以达到 170km/h,续航时间大约为两小时。这款无人机主要面向的是测量、调查、观测,及检查等专业需求,负责这款产品而专门成立的 Aerosense 公司也表示,他们通过利用无人机的影像撷取能力与云端资料处理能力提供各种企业解决方案服务。
由此可见,索尼要涉足的无人机领域是专门针对商用、专业需求的一块,和我们日常接触到的航拍等民用需求有较大的差异。
不过最近有一份新公开的专利指出,索尼对民用领域的无人机产品有兴趣。他们这份专利所展示出来的产品雏形,是一款能够兼容 8 轴结构的可折叠无人机产品。

根据影像资讯博客 SonyAlphaRumors (SAR)的报道,有一份关于索尼无人机设计的专利曝光。这份专利要展示的,是一款带转轴折叠设计的无人机产品。

这款无人机的基础版本是采用了四轴设计,每轴连接机身的位置都加入了转动关节,用户在收纳的时候可以将四轴转动到机身内部,整机就会变成了一个方形盒子,更便于携带。

同时,这个设计也能从四轴衍生成八轴。每个轴同样都有转动结构,也能够变成一个方便收纳的「方块」。和四轴的设计差异应该就是,八轴这个大一点而已。

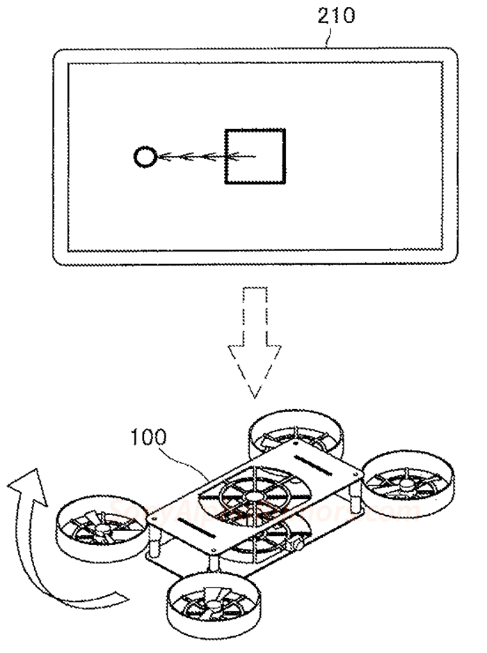
两个版本的无人机上方都覆盖着一个带屏幕的「罩」,这个部件可以分离出来,变成无人机的控制器。
和现在的无人机控制器不同,索尼设计的这款控制器就是一块触控屏。它支持缩放「变焦」、点按对焦等基本操控,这里的变焦未必一定是我们经常接触的光学变焦或数码变焦,它也有可能是通过缩放来控制无人机移动,贴近拍摄以达到「放大」的效果。

另外从专利文件中看到,索尼这款无人机设计是一种非常「超前」的处理。为了收纳镜头,机身也就只留下了摄像头的位置,其余的地方都留给了收纳机身上的四轴。这样不得不让人好奇,索尼到底把其他元件放在哪里。

不过,现在也只不过是一个很初略的设计专利而已,当中也不包含其他元件的收纳。或者,它只不过是索尼就消费级无人机提出一种设计方案。所以现在讨论其他东西或者还有点早,毕竟就现在看,索尼这个设计还要把其他部分整合进去,无人机才能够使用。
但就目前的市场状况而言,相信还有不少索尼粉丝还会期待索尼能够推出一款无人机。作为一个在传感器、数字算法以及影像技术上都有着一定积累的公司,如果能做出一台无人机,也是一件很好玩的事情。哪怕是像 VTOL 一样跟别人合作,也没有问题。
毕竟,大家看大疆「领头」都看了那麼多年,是是时候该有点新意出来了。













