
在20世纪60年代早期,Hanna-Barbera导演的动画片《杰克逊》向人们描述了一个未来社会,在那里人们会使用许多高科技。目前,我们已经实现了其中的一部分,例如视频通话和机器人真空吸尘器。此外,我们仍在期待的就是剧中的飞行汽车。主人公乔治驾驶他的飞车从Orbit City附近匆匆赶去Spacely Space Sprockets或者回到家乡与Jane,Judy和Elroy共度时光,不需要受到交通的困扰那种从容惬意令人神往。
我们常幻想自己的轿车或SUV可以变出翅膀,让我们远离拥堵的交通。而如今无人飞车和无人航空器系统的发展让我们越发接近自己的愿景。飞行汽车的发展并不仅限于美国,在最近的报道中我们发现一些日本公司正在规划飞行汽车发展项目路线图。8月下旬,优步宣布正在研究在美国以外的五个国家开发飞行汽车试验站的计划。而此前菲律宾也有发明家成功试飞了空中飞车。
个人交通飞行器的未来已经受到越来越多的关注,我们从美国专利局查询相关专利信息的时候,也能明显地感觉到发明家们在这一领域的进展迅速。

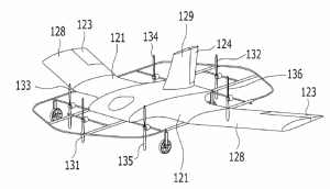
去年10月,美国加利福尼亚州Tiburon的三位独立发明人的发明专利(美国专利号9776715)设计了一种外形类似于普通汽车的空中飞车,据称这是一种两栖垂直起降(VTOL)无人装置,带有人工智能(AI)数据处理中心和可穿戴设备。两栖飞车是模块化的结构,有可扩展的防水车身,由万向旋转推进系统驱动。该飞车的组件包括多个垂直起降喷气发动机和垂直起降管道风扇,用于车载发电的太阳能电池,稳定尾翼和其他传感器和电子组件。该无人装置还包括可折叠的机翼,此外配置的降落伞能让飞车安全地着落。

另一个美国专利申请号20180257448介绍了一种由飞行器改进的AB点飞车。它包括模块化的空陆两用车体,可以根据需要切换称空中和陆地车辆模式。本发明中的飞行器可以直接降落在陆地道路上而作为普通的汽车使用,而这样的功能并没增加其作为飞行器的重量和阻力。因此,这类将飞行器和陆运汽车结合起来的交通工具将会使未来的交通出行方式变得更加灵活。

在美国专利号9682772中,发明家向我们阐述了一种将直升机等旋翼飞机的垂直起降能力与固定翼飞机的低能耗和高速度相结合的飞行汽车。该发明去年六月已经发布并且授权给了韩国首尔的EXENS公司,它被描述成一种多级倾斜和多旋翼飞行汽车。其主框架外形为矩形,内部以网状结构隔开,载人主体部件安装在主框架的中心以便使飞行器平衡,多个螺旋桨安装在机体上,机体下侧还安装有辅助降落的轮子。据称该款飞行器的飞行续航时间是普通旋翼飞机的3倍,续航里程是普通旋翼机的5倍。

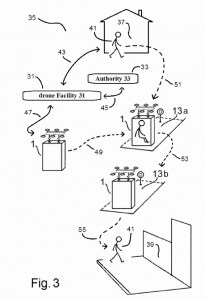
但是不是所有人都能够购买私人飞车。考虑到这一点美国专利号20170116814的发明家提出了无人机出租车服务,该专利申请已被转让给纽约CIAS公司。据称这是一种推进和引导装置,用于根据客户要求运送乘客,此类出租的无人飞车有可供乘客乘坐的座位并配有安全系统。类似于地铁和公共汽车,无人机出租车服务在未来将作为一种公共交通工具。

飞行汽车不是可提供个人飞行服务的唯一解决方案,如美国专利申请号20180127094中提到的技术,阐述了一种人体便携推进装置,就像您在周星驰的电影《美人鱼》中看到的那样,这类推进器可绑在乘客的身上,有推进器和控制器两个系统。该推进器可以使乘客以高速或者低俗精准地通过水面和陆地。

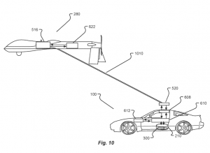
此外美国专利号10080318中描述了一种充电无人机,今而年9月该专利已经授权给加利福尼亚州圣何塞的NIO USA公司。据称该无人机可直接给电动汽车充电。当纯电动汽车在中途没电时,无人机可以悬停在电动汽车上面对无人机充电,而电动汽车也是经过特殊设计以保障在给汽车进行地空充电时乘客的安全。













