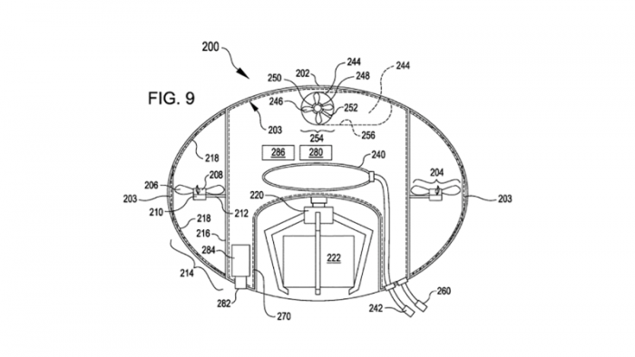
美国专利和商标局近期公布的亚马逊专利显示,这家电商巨头介绍了一种专门为仓库设计的新型无人机系统。同消费者熟悉的四轴无人机不同,亚马逊的专利插图中显示了独特的泡泡状无人机,而爪子有点类似于娃娃机上的抓取爪子。

最新专利暗示公司可能会利用无人机来提高仓储性能。亚马逊在该专利中详细描述了一种“库存系统的协作式无人机驾驶飞行器”,亚马逊描述这款无人机时使用了“浮力安全气囊”、“悬停功能”、“驱动单元”和“车载控制模块”等关键词。

该专利描述中表示该无人机具备向下垂落的爪子,可用于“抓取一个或者多个物件进行运输”能够帮助物品在仓库之间进行移动,从而减少仓库员工的负担。
2025-05-23 15:43
2025-05-23 14:16
2025-05-23 14:12
2025-05-22 10:21
2025-05-22 10:17
2025-05-21 13:55
2025-05-20 16:57
2025-05-20 16:46
2025-05-20 16:40
2025-05-20 16:32
