亚马逊最新的无人机专利显示,无人机可从被动配送工具变身为主动与你交流的工具。8 月 29 日,美国专利商标局批准了亚马逊 2015 年 2 月递交的「无人机语音交互」文书。
随着亚马逊物流能力的不断提升,无人机已成为其长远愿景的核心。最近的专利显示该公司将这些无人机放在蜂巢状仓库,软式小型飞船、水下设施以及类似于「死亡之星」形状的物体中。
亚马逊的无人机还将会对住宅区进行监视,收集数据,方便推销,例如,亚马逊无人机察觉到花园杂草过盛后,可以向你推荐除草剂。
尽管该项对话无人机专利并没有提到产品推荐或销售数据,但是它描述了无人机如何通过语音与包裹接收人进行互动,也描述了一只无人机如何通过「一个或多过无线网络界面」与「控制中心或其他无人机交流。」

无人机可记录包裹接收人的回复,将其反馈给客服中心。它甚至可以与他们直接进行联系(通过视频或音频)重新确定配送时间或者回答一些问题,比如「我的下一个包裹什么时间能到?」
如果亚马逊的无人机可以通过「蜂窝技术、射频(RF)、Wi-Fi 或者其它合适的远程无线连接技术」(以上均在专利中提及)支持语音和交流,那么,将同样的技术与 Alexa Voice Service 进行连接就具有可行性,还可以与无人机驱动的数据收集以及公司 2015 年申请的一些专利用途关联起来。该项专利甚至提到,配备语音或面部识别功能的无人机如何在投递包裹之前决定或验证人员的身份信息。

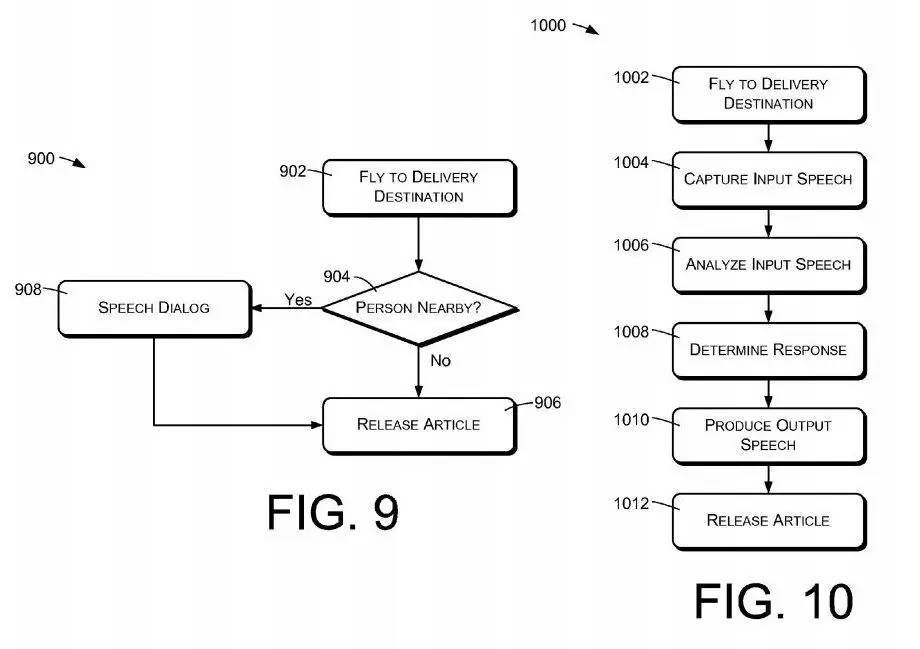
然而,初期阶段,交流无人机并不与 Alexa 连接,也不是销售取向,主要作为警报使用。该项专利完全用于包裹配送,只在确保用户安全时才考虑交流无人机的干预。规定指出,无人机可以「检测到附近的人员,动物或其它互动的物体」,发出语音并对他们进行「警告或指导」。
亚马逊的无人机会以严厉的口吻命令其航线上的物体「离我远点」。除此之外,其语音输入功能使得用户能够录制相对礼貌委婉一些的「让一让提醒词」,甚至它可以按照障碍物(通常为人)的指引,转移到其它地点降落。

亚马逊无人机与收货人的交流逻辑非常简单粗暴,上图展示了这一过程。作为一个「机器快递员」,很重要的一点是无人机需要能够像人类快递员一样与收货人进行交流。专利中的亚马逊无人机搭载收音设备、扩音设备以及显示屏幕。具备自然语言理解以及语音识别能力,这使得无人机能够「听懂」用户的话语,甚至能够执行用户一些相对模糊的指令,例如「把货物放在后门」。此外,该专利还披露出,亚马逊无人机的传感器系统能够识别「可与之交互的物体」(或指人类)。

最后需要强调的一点是,虽然亚马逊无人机搭载的语音模块可能会从很小很单一的功能入手,但却表明了这个互联网巨头想要向人类「隔空喊话」的决心,此举也有助于亚马逊巩固 Alexa 的江湖地位。
更进一步地,无人机对话能够助力亚马逊的数据收集工作。这些因素合在一起,将会帮助亚马逊更好地实现其愿景:「无论何时,满足客户所有需求。」













