从母舰下来的无人机会飞回附近的亚马逊配送点——毕竟再飞回母舰已经是不现实的了,这也意味着母舰只能作为无人机配送的起点,而非终点。

物流早已成为决定企业利润、消费者满意度的核心因素之一,如果说重视人的沃尔玛是“左派”物流的话,天天折腾无人机、申请奇葩专利的亚马逊就明显是“右翼”物流了。
无人机的配送成本低廉,因此亚马逊一直在这方面“死缠烂打”:从2016年年底爆料的“天空母舰”专利到今年的“无人机空投”专利,可以发现这一切都是将目光投向天空,然而最新的这个专利却开始面向地面和水面。
对于无人机送货来说,至少要考虑5件事:
其一,从哪里“装货”(以及能装多少货);
其二,从哪里“起飞”;
其三,配送到哪里(以及距离如何);
其四,怎么配送到消费者手中;
其五,配送后回到哪里去。
最简单的逻辑是在物流中心配货并飞往消费者家中,但是考虑到亚马逊的物流中心距离消费者平均距离为90英里,能不能飞这么远、能源消耗量是一方面问题,另一方面怎么回物流中心(如果不回物流中心,回别的地方也可以)也必须纳入考虑——这么一算,还不如老老实实用大货车配货呢!
基于这些问题,亚马逊就在无人机方面开始研(瞎)究(胡)了(闹)。
无人机的来源问题
如果从物流中心开始的话,是不经济的,这意味着亚马逊需要建立一个“配送点”,于是就出现了“天空母舰”。
根据亚马逊的专利,母舰上有机械臂将商品按照需求装填在无人机中,然后无人机带着商品从高空“坠落”到一定高度后,开始飞行,并将商品送到附近消费者手中。
当然,根据专利文件,母舰上可以有工作人员进行操作。
亚马逊“天空母舰”工作流程(图片来源:亚马逊专利)
亚马逊“天空母舰”设想图
有趣的是,由于这个母舰是可以移动的,于是根据专利,母舰既可以作为直接配送的起点——也就是根据用户订单,将商品装填入母舰,母舰边飞,内部边进行装填——另一种方式,就是亚马逊进行需求预测:例如某地有一场演唱会,那么亚马逊就会在母舰中装填上消费者可能需要的商品,然后让母舰飞到演唱会场地附近。
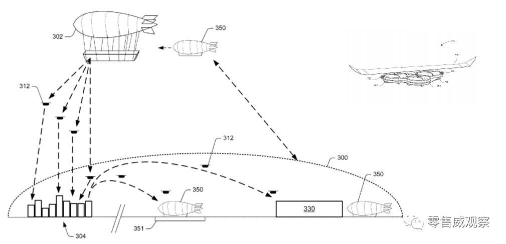
同时,在8月份,亚马逊又爆出一项专利,就是通过陆地上的火车、卡车乃至海上的船舶作为配送起点,而且这些无人机如果出现故障,甚至还可以在火车、卡车和轮船上进行修理、充电。
以卡车为“中介”的地面部队(图片来源:亚马逊专利)
以火车为“中介”的地面部队(图片来源:亚马逊专利
以船舶为“中介”的水军部队(图片来源:亚马逊专利)
无论是天上的母舰、地上的汽车、火车,还是水里的船舶,这些都是可移动的。
在今年6月下旬,亚马逊的专利显示要制造一个“配送塔”,塔是一个多层建筑物,一层是进行传统的卡车配送,一层以上的部分就相当于一个“多层次的蜂巢(Multi-level Beehive)”,无人机可以自由进出。
亚马逊“无人机蜂巢”(图片来源:亚马逊专利)
这里,亚马逊就解决了“从哪里装货”、“从哪里起飞”和“送到哪里”的问题。
无人机的配送问题
传统的配送方法是放到顾客门口,亚马逊在2016年12月7日为一位英国顾客配送了一个Amazon电视盒子和爆米花,总用时13分钟,这就是通过无人机将商品放置在地面特定位置上——并没有什么好说的。
然而,从空中到地面,这是需要消耗能源的——不然就是“机毁人亡”的自由落体了——亚马逊当然是希望能以尽量少的能源消耗实现最高效的配送。
以“降落伞”的形式为用户配送(图片来源:亚马逊专利)
降落伞的具体配置(图片来源:亚马逊专利)
于是,在5月底,亚马逊爆出的一项无人机专利显示,亚马逊的无人机会在一定高度“放下”商品,然后商品在自由落体的过程中会打开一个小型降落伞,最终到达指定位置。
有趣的是,这个小型降落伞上还可以装饰一下,印上广告、二维码等内容。
这里,亚马逊就解决了“如何配送到手”的问题。
无人机的回收问题
配送完后,无人机如何回到亚马逊也是个大问题。
此时再考虑到配送点一般都很远,于是在此过程中的成本也就被无形之中拔高了——也许未来能通过亚马逊的线下店铺,包括刚刚收购的全食超市,实现回收。
另一方面,8月份这个最新专利也提供了解决方法,那就是无人机飞回附近的亚马逊汽车、火车、轮船上,这样不仅降低了回城距离,还可以对无人机进行充电和再次装填,实现反复利用,其安全更高、成本更低、复用率更高。
无人机可以在汽车内得到维修和充电(图片来源:亚马逊专利)
这里,亚马逊也就解决了“如何回收无人机”的问题。
基本上,从这几个专利来看,理论上解决了无人机配送最核心的问题,然而依然也有不少问题有待解决,包括无人机的安全问题,比如飞行过程中出现故障坠毁时可能会砸到人等,同时不得不提的还有法规问题,包括能否在大型城市使用无人机等。
专利已经有了,想法也画成图了,如何真正落地实施,还是需要时间的。






















