
亚马逊长期以来一直以自主包装方式为“野心”,但在无人机配送可以广泛使用之前,仍有一些障碍需要克服。最近,该公司已经申请了许多专利,从放置在人口稠密地区的无人机蜂巢中将降落伞放在一个大型飞艇上。业务内幕人员发现了新的专利申请:一个基于船、拖拉机拖车、火车或其他车辆的移动工作站网络,可以驱动到高需求的地区。

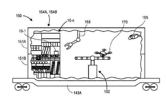
在专利申请中提出的一个“坚果”式的想法:它将建立一个流动,多式联运系统网络,既可以作为亚马逊无人机组的维护中心,也可以用作商品仓库。该专利主要描述了一种标准运输容器,其在天花板上配备有自动门,并且“取出装置包括被构造成沿垂直轴升高或围绕垂直轴线旋转的着陆面”。
这些集装箱可以装载到机车、集装箱船或拖拉机拖车上,并且由装备有额外电池,机器人手臂和计算机系统的维修车组成,这将允许车辆与无人驾驶飞机通信。如果需要,他们可以移动到一个新的位置来接收无人机。维修车将拿起无人机,更换电池,并释放它进行交货。该专利还描述了固定可能损坏的无人机的方法。亚马逊发言人拒绝对“商业内幕”的备案发表评论。

该专利还讨论了这些移动集装箱作为“转发库存物品”的潜在手段的可能性。第二辆汽车或集装箱可以携带“可以合理预期对库存物品需求”的物品,这将实现公司缩短交货时间。在这种情况下,可以放置从最近的配发中心发送的物品的订单,无论是物理仓库还是恰好位于附近铁路线上的仓库。该订单将被加载到无人机上,然后起飞,发送包裹并返回,在那里它可以再次充电。
可以肯定的是,专利申请并不意味着该公司将推进这一特定系统,但它确实表明亚马逊正在考虑基于无人机基础架构上的可能性。事实上,亚马逊远远不是第一个考虑移动无人机平台的:UPS已经通过其卡车测试了发射无人机。在这份新的文件中,该公司现在提供了一个系统如何工作的缩略图:产品被制造出来,送到执行工厂,从这些工厂派发给客户。该公司指出,将包裹装载到飞机上需要大量的设施和人员,并且车辆维护可以将车辆延长一段时间,从而使飞机安全飞行。
亚马逊似乎正在看待两件事情:提供更多的灵活性,其交付服务,并找到一种方法来自动评估其无人机队伍。实现设施网络有助于大规模满足需求,但移动微型执行站可以为目标区域服务,或解决特定产品的转变需求。同时,移动维护舰队也将有助于确保公司的无人机运行良好,而且也不会与物理设施网络有关。
无人机网(www.youuav.com)点评:近几年来,世界上各大购物平台都在开发无人搬运和送货技术,无人机刚好成为了最好的方案。我国的京东物流集团最近就是最大的物流无人机热点,而最近的亚马逊动作也不小,只想说现在就看谁能够最先完善无人机送货,谁就能领先世界了。













