话说无人机送货,两年前还犹如惊雷。
但随着亚马逊又是试验,又是申请各种专利,颇有种“未来在我手”的架势,还有谷歌也押注无人机送货,这趋势就扬起来了,国内的顺丰、京东都成了践行者。
可亚马逊又不按套路出牌了,天上飞快递还满足不了,水里游快递的黑科技,他们也想一并包揽。
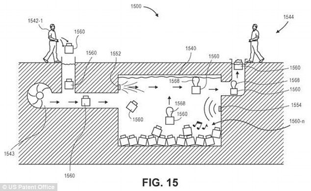
亚马逊日前申请了新专利,事关水底建仓库放包裹,反正浮到表面交货前就先这么存着,水底也没啥限制,湖泊,水库等都行。俯瞰效果图如下:

用起来也很方便,至少投放包裹的“姿势”你随意,或卡车运、或人工投都没问题。着重点是包裹到水里了,然后呢?

亚马逊在包裹上做了点“手脚”,加了类似气球的玩意,它能缩放自身体积,从而使包裹所受浮力有差别,因而通过控制即可确保包括待在不同水深处。气球的缩胀是由声音信号来控制,声音触发气罐为气球充气,达到某程度,包裹浮出水面,便可自取。

说来也并非亚马逊想特立独行,实在是他们仓库吞吐量大、存放空间又有限。亚马逊搞了不少Kiva智能机器人来仓库“搬砖”,还有专搬重物的机器手臂,但问题没能根本解决,因此才有略显怪异的水底仓库的脑洞。

首先,水底存储面积较实体仓库而言本身没那么受限,可达到100万平方英尺或以上,约为亚马逊北美最大凤凰城运营中心面积的两倍。其次,尤其对包裹尺寸、形状差别过大,或取包裹时间有变动等情况,像水底仓库这种能分行存储,可更有效利用存储空间,自动调节的系统,还能节省不少人力成本。

但这或也向工作人员提出新的挑战,检索订单要如何处理,尤其当订单里有那些存储距离很远的多个物品。
“这并不像想象的那般牵强。”沃里克商学院Mark Skilton接受纽约时报采访时说道,亚马逊正在处理大量包裹形状、大小不能标准化高效处理的项目,这部分目前还需依靠密集的人力来完成。“水下仓库削减了诸多无效步骤,让过程更简单化。”

就在6月,亚马逊才发布一项“存放”数百个无人机的九层蜂巢(nine-story hive)专利。这主要是为城市地区所设计的,毕竟想在人潮拥挤的城市建经营中心,地贵不说,重点是也没足够用的占地面积。像这样的蜂巢,专利里设想的是每天能承担数十万条订单的吞吐。但具体何时才能见着实物就不得而知了。

去年底,亚马逊在英国完成首次正式无人机送货,给英国剑桥附近的一名男子送去了亚马逊的机顶盒和爆米花,整个飞行过程花了13分钟。
仔细想想,天上飞快递和水里游快递其实也不冲突,反倒是二者可结合起来皆大欢喜。无人机完全可充当包裹从水底浮上来后的“接盘者”,站好“最后一公里”岗,仰仗不久前亚马逊公布的“坐着”降落伞飘下包裹的专利技术,把包裹送到你跟前。













