在未来的快递运输中无人机将会扮演重要角色,而需要克服的问题是飞行时间有限,存在被窃风险,以及如何有效管理复杂的运输网络等等。为了解决货运无人机的飞行距离以及防止包裹被偷走,IBM获得的最新专利允许无人机进行空中的包裹交换。

根据专利号No. 9,561,852显示,在IBM的设想主要通过中间货运无人机来将包裹送到消费者手中,来弥补运输能力不足的短板。本质上,这种方式就是为无人机提供更多的里程,降低包裹在运输中途被窃的风险,通过空中的包裹接力来更好的管理运输网络。

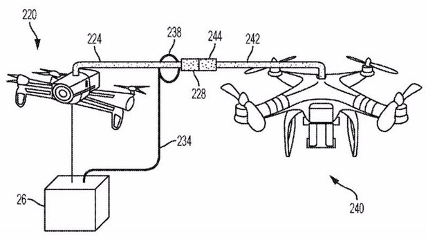
在专利描述中,货运无人机在肚子部分安装了可以移动的导板,包裹放在其中,在底部安装带有电磁耦合装置的可伸缩产品,不过在商业端版本中顶部还有一个带对接机制的机械臂控制。
在消费者下达订单之后,仓库会直接使用无人机将包裹或者其他东西托运给消费者。与此同时,消费者需要派出自己的无人机和货运无人机在半空中进行对接,两者都会在云计算操作系统的控制下自动完成。
在合并时候,货运无人机首先会降低包裹的位置,然后两架无人机就会提供顶部的机械臂进行绑定,进行磁性连接和锁定。在货运无人机有个固定包裹的环扣,一旦连接之后两台无人机就会同步倾斜,然后将无人机上的包裹运输移动到接收无人机上。













