虽然许多科技巨头公开全新的技术专利并不一定就表示这些新技术一定会投入商用领域,不过从中我们也能看到一些新品的发展趋势。这个月大疆就陆续展示了一系列技术专利,我们可以借此了解一下未来大疆会推出哪些新品。
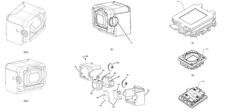
首先,近期大疆的新专利展示了可能用于大疆新产品的新型相机模块和光学防抖(OIS)模组系统,并且这个相机模块是一个模块化系统,可以安装在各种不同类型的产品上,从图片和专利介绍来看,摄像头模块似乎可以使用齿轮系统和伺服系统之间上下倾斜,相机被封装在坚固的外壳中,因此这个相机应该做了防撞击的设计,可能会应用于遥控无人车上。并且相机的镜头似乎也是可更换的,或许会和Insta360 ONE R有些类似。另外在功能性方面这个模块化相机也做了优化,通过自动倾斜相机使其与地平线保持一致解决了FPV相机在高速飞行时必须向上倾斜的问题。
全新的光学防抖(OIS)系统在同一单元上具有传感器和镜头安装座。该模块看起来体积不大,并且该传感器支持可更换镜头,有可能会用于未来的Mavic 3或Phantom 5无人机。
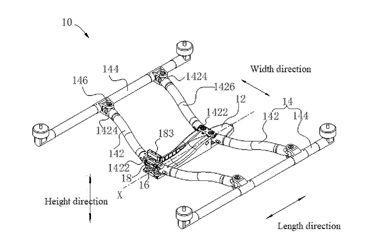
另外大疆还有两个重大创新的技术专利,一个是全新的折叠设计,不同于Mavic系列无人机 传统的折叠设计风格,这个新折叠设计方案采用将两个侧臂折叠在一起。新设计看起来可以通过向前和向内推动来折叠机臂,而无需升高和降低手臂进行折叠,机臂在折叠时会停留在无人机的身体上方,使设备呈现呈细长的形状,便于运输。
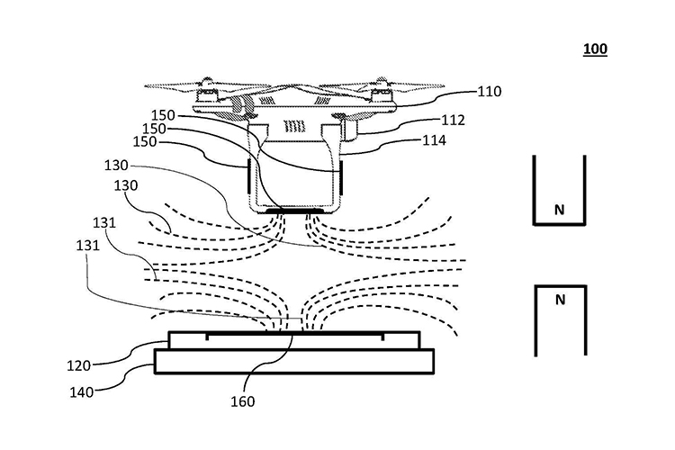
另一项新专利可以让无人机更好的完成自动对接站的降落工作,无人机可通过磁铁将无人驾驶飞机准确地降落到指定的对接基站,从而不需要飞行员或人工指导进行相关降落操作。一旦该功能激活后,该无人机就会使无人机悬浮在基站上方,同时基站也配备了磁铁。
可以看到近期大疆的技术专利还是不少的,未来我们可能会见到更具黑科技的无人车或无人机,大家拭目以待。
















