1月2日消息 据外媒dronedj的新闻,韩国电子巨头三星在过去几年中向美国专利商标局提交了多项无人机专利。据报道,2018年有5个,总共有16个无人机专利。
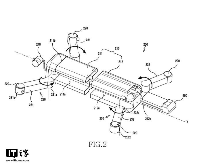
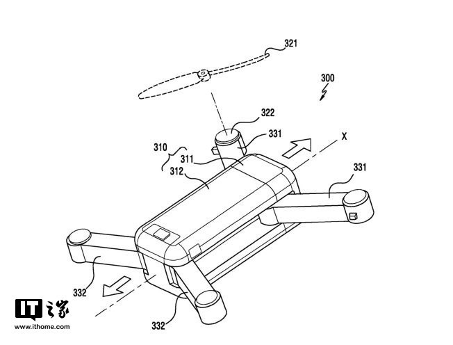
三星最新的无人机专利申请是从2018年6月7日开始申请的,并于12月13日得到批准。该申请是针对可折叠的无人驾驶飞行器,其具有折叠臂和由两部分组成的机身。无人机还配备了一系列传感器,包括摄像头,陀螺仪,加速度计和气压计。

在专利文件中的说明:
提供无人驾驶飞行器。该无人飞行器包括具有第一壳体结构和第二壳体结构的壳体,连接到壳体或位于壳体内部的无线通信电路,用于与外部控制器无线通信,多个推进系统连接到壳体,以及导航电路,被配置为控制多个推进系统。多个推进系统中的至少一个包括可枢转地连接到第一壳体结构和第二壳体结构中的一个的多个折叠臂,由导航电路控制的电动机,以及连接到电动机的螺旋桨。壳体具有至少一个凹部,以在第二状态下容纳多个推进系统的至少一部分。


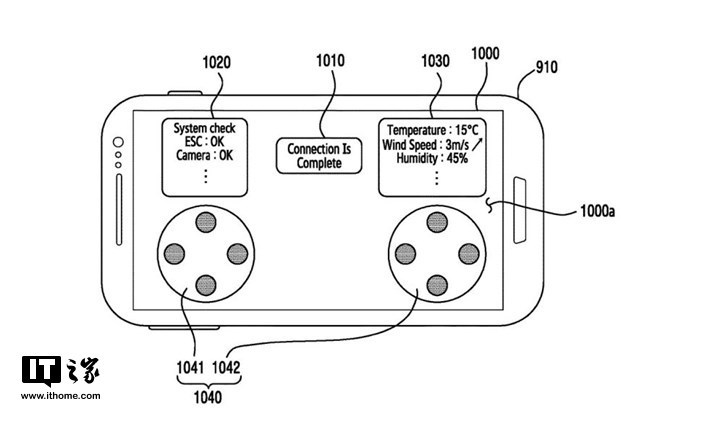
看来,通过这份文件,三星正试图创造一款小巧,可折叠且实用的无人机。根据文件中的图纸,你可以用三星智能手机控制无人机,因为没有专用控制器。但从智能手机上驾驶无人机往往缺乏精确控制无人驾驶飞机所需的触觉反馈。
似乎三星将参与无人机市场的竞争,然而,这不是韩国公司首次申请无人机专利,三星是否会真正制造这款无人机还有待观察。













