发布询价单
您的位置:首页 > 资讯 > 综合资讯 > 正文

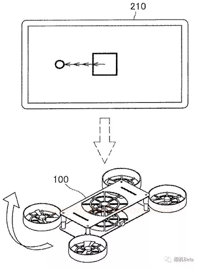
索尼要出无人机?专利已经曝光

2018-11-01 08:39 性质:转载 来源:相机Beta
免责声明:无人机网(www.youuav.com)尊重合法版权,反对侵权盗版。(凡是我网所转载之文章,文中所有文字内容和图片视频之知识产权均系原作者和机构所有。文章内容观点,与本网无关。如有需要删除,敬请来电商榷!)
  近日,索尼的一款无人机专利曝光,这款无人机采用折叠式设计,旋翼可以折入机身内,背部带有一个可拆卸触屏,触屏的操作类似于目前的智能手机,可...

  近日,索尼的一款无人机专利曝光,这款无人机采用折叠式设计,旋翼可以折入机身内,背部带有一个可拆卸触屏,触屏的操作类似于目前的智能手机,可以用以遥控无人机,也可以点触对焦(拍照),可以进行缩放操作等。这款无人机还具备“眼控对焦”功能,方便无人机追踪拍摄人物。

关注官方微信

手机扫码看新闻