沃尔玛( Walmart )购物场以商品种类多见称,但要在动辄数层高的店铺内寻找心宜商品可非易事,又可能因架上没货,需店员前往库存仓取得货物,花费不少气力与时间。为改善顾客购物体验, Walmart 提出以无人机为顾客找寻货物的概念,只需手机或平板电脑即可进行操作,据称其已提交专利申请。

无人机助寻货
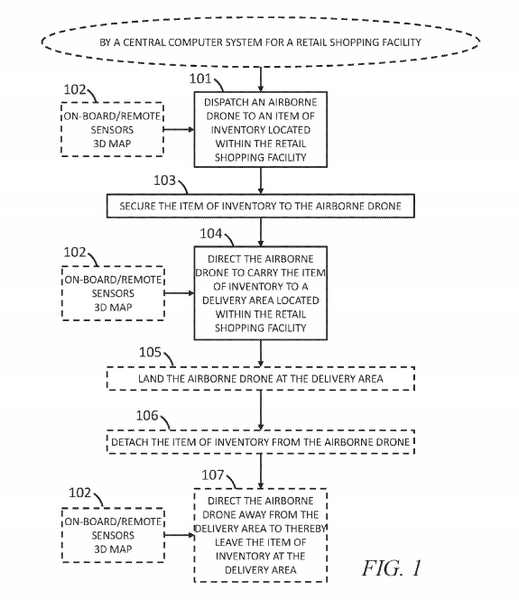
根据运作流程,沃尔玛会提供平板电脑或手机予来店购物的顾客以选择商品,一经选定,商店中待机的无人机即会飞往卖场货仓,视乎目标货品大小与重量,使用网或挂勾提取所需货品,后交至顾客手上。如顾客选择请求导航协助,中央控制系统则会控制无人机为顾客「带路」,直至所需货品的货架前。

Walmart 申请专利时清楚列出无人机工作流程。
结合 3D 地图飞行
店内使用的无人机将配备摄像镜头、传感器、加速器、陀螺仪等装置,结合 3D 地图技术让无人机根据路线规划飞行,是为沃尔玛使用无人机盘点库存后的另一高科技应用,但投入多少台无人机至店内,或是会否导致员工失业,则仍是未知之数。













