无人机早已从特定专业应用拓展到消费级应用领域,能带你体验航拍、高清摄影和全景拍摄等好玩有趣功能。不过对大部分用户来讲,使用遥控器虽然简单方便,但却显得不够便携,而且在某些特定场合也可能不如语音、手势这样的操作更给力。

当然,厂商已注意到消费者对能手势或语音操作,更智能无人机的需求。比如大疆此前就推出过能手势操控的“自拍”无人机;亚马逊和三星的专利显示,他们也在研发手势、语音等控制的无人机,有望在未来帮助用户摆脱遥控器。
亚马逊:无人机可理解手势
亚马逊提交的专利显示,其运送包裹的无人机将支持手势和语音命令。专利显示,无人机会搭载一系列传感器和摄像头,如光线感应器、距离感应器、可见光摄像头、红外摄像头和听觉感应器等,从而能够识别用户手势和行为做出反应。从描述来看,无人机能够识别挥手、指向、闪过灯光和讲话等(比如专利显示,用户向着无人机疯狂挥手)。

据了解,该项专利的申请时间是2016年7月,并于近期被公示出来。不过从专利描述来看,该无人机概念依然令人印象深刻,比如无人机能识别“欢迎”或“射击”手势,从而做出是否向用户靠近的决策。虽然尚不清楚亚马逊是否会将该专利转化为产品,但我们可以对无人机有更多期待。
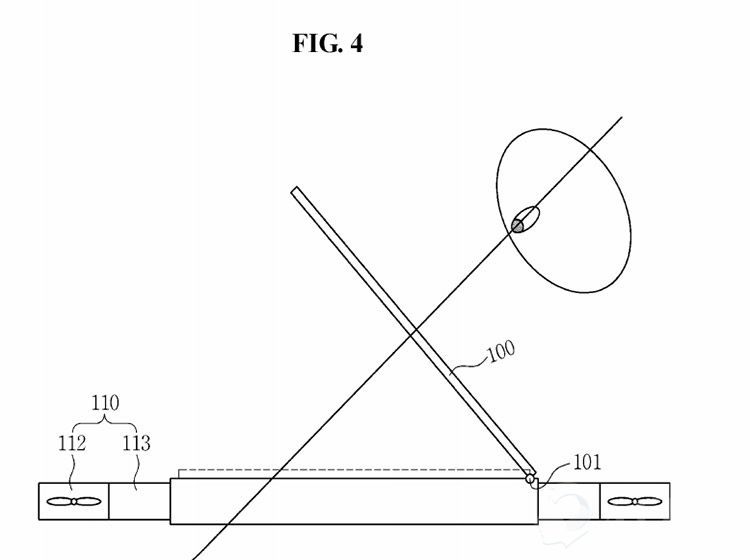
三星:用眼球控制无人机
关于无人机与人类的交互,三星也有过类似设想。在名为“可飞行显示设备”的专利中,三星设计了一款可检测到人脸、眼球和手势的无人机。专利描述显示,这款无人机包括照相机和将具有传输功能的观测系统,可实时跟踪到用户眼球、头部、手部或手指运动。

该无人机包含了陀螺仪传感器,运动传感器,振动系统,并可能具备语音识别和基于Wi-Fi的定位系统。虽然消费者还未能看到产品,不过一款能通过动动头、眼睛、手指来控制飞行速度和方向的无人机,感觉还是非常值得期待的。
大疆Spark支持手势控制
与亚马逊和三星的专利不同,大疆已经在其无人机产品中运用了手势功能。大疆在2017年发布的迷你无人机Spark,在主打自拍功能同时,还允许你用手势去操控无人机:掌上起飞、手势控制、挥手跟随、Y型召回和掌上降落。

具体来说,通过向左或向右移动手掌,无人机会向对应方向移动。当向前或向后移动,同时将手掌心对着无人机前方时,无人机会远离或靠近用户。如果对着无人机挥手,那么无人机会飞到10英尺(约合3米)远处。当伸出手后,无人机会在用户手掌着陆。
用意念也能控制无人机?
除了手势和语音,无人机还有一种更科幻的控制方式:意念(脑电波)。比如佛罗里达大学进行过一场无人机大赛,要求参赛选手靠意志力让无人机起飞和飞行:选手佩戴EEG头戴设备emotiv,可识别出大脑释放出的电信号,并通过计算机程序进行解码,在之前设定下,相应代码对应着相应命令,从而操控无人机的行为。

媒体报道显示,美国亚利桑那州大学的人机界面与控制实验室正开发一种脑力控制的无人机导航界面,用脑电波来指挥一群无人机工作;我国复旦大学的学生,也曾实现过用脑电波和手势控制无人机。不过从现阶段来看,意念控制无人机依然处于实验室阶段,但若BCI(脑机接口技术)取得巨大进展,科幻电影中的一些场景将不再遥远。
写在最后
在让消费者摆脱实体遥控器方面,开发者和厂商还带来了可穿戴设备(手环或手表)、只通过手机遥控等方式。不过对消费者而言,这些方式恐怕不如智能语音或手势遥控,甚至脑波控制来的酷炫、有趣和简便。随着技术成熟,我们期待手势和语音让无人机摆脱遥控器的同时,也能见到更多无人机的新玩法和新内容。













