图片来源:futurism
亚马逊终于推出了一款无人机,如果你在大喊大叫、使劲挥舞手臂,它就不会一直攻击你。
这是一些关于亚马逊无人机的背景:为了让人们对货物当日送达服务持续地上瘾,亚马逊和它的竞争对手们一直在仰望天空寻找更好的解决方法,以避开高速公路和那些挤满运送卡车和早上通勤者地道路。
图片来源:Amazon
亚马逊Prime Air--这个零售巨头的无人机交付系统概念——自2013年12月起开始运作,当时亚马逊首席执行官 杰夫贝佐斯(Jeff Bezos)承诺该公司可以30分钟交付重达5磅(2.25公斤)的包裹。 2016年,亚马逊在英格兰剑桥首次公开无人机送货试验。
如果亚马逊能做到这一点,无人机将会把你订购的鼻毛剪发送去,并将它们分开。但目前尚不清楚的是,这些无人机将如何融入社会的其他部分。美国联邦航空局(联邦航空管理局)仍在迎头赶上,制定并修改其规定,允许无人机进行商业运营。
现在,亚马逊已经提交了一份关于送货无人机的专利,该无人机能对周围的人做出更灵敏的反应。具体表现为:该无人机将配备技术,使其能够对附近的人发出的疯狂的呼叫及挥手致意等行为做出响应。根据GeekWire的说法,这一概念可以追溯到2014年,是亚马逊一项早期专利的延续,旨在平滑无人机与人类的互动。
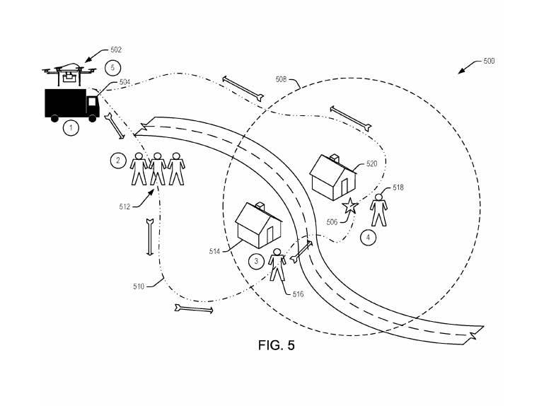
下面,快速浏览一下这个专利的A +插图,想象一下,当你的邻居挥舞着胳膊,朝着载有他订购的电动牙刷无人机大喊“坐下!”、“着陆!”时,我们可以感受到那种场景下无人机所带来的巨大喜剧潜力。
图片来源:USPTO
要做到这一点,无人机必须配备大量的传感器,比如深度传感器和红外传感器,以及极其敏感的麦克风。
不过,现在市场上的有些无人机已经接近了亚马逊无人机的目标。例如,2017年发布的大疆Spark可以通过一个凸起的手臂来控制“双心”。
据亚马逊无人机专利显示,亚马逊无人机也将能够做到这一点,同时还可以从送货车辆的车顶向接收者的家中追踪路人的指示。(尽管很难想象邻居们必须要知道你在30分钟前订购了某样东西,又或者,如果他们像我一样知道的话,那么这实际上是有帮助的)。
图片来源:USPTO
不过,这项专利所产生的问题远远多过答案。譬如:当你不在家的的时候,无人机还能把货物送到你的家里吗?即便这样,当你挥舞手臂让无人机后退时,它会不会不停的移动,然后砍掉你的手臂?假如这一切真的不幸发生了,亚马逊会支付你的医疗账单的退货吗?
和其他无数的专利一样,这种技术很有可能永远看不到曙光。不管怎样,我们对亚马逊的自毁式送货无人机及其巨大的物流配送中心目标依旧抱有期待。

















