
8月6日报道,亚马逊正在大力投资无人机,将来有一天,它可能会利用无人机来革新快递行业。
现在,它还处于早期研究阶段。但是,一些公开的专利文件让我们惊讶地看到了亚马逊的工程师们正在捣鼓什么。

例如,无人机送货面临的一个重要问题就是电池和维护。当你的无人机在维修铺里进行修理的时候,它们是无法帮你赚钱的。因此,你如何才能尽可能地久地让它们呆在空中呢?
一个可能的答案是:在火车、汽车和轮船上打造庞大的移动式维修站网络。
在美国专利和商标局本周早些时候公布的一份专利文件中,亚马逊详细阐述了自己的设计思路:
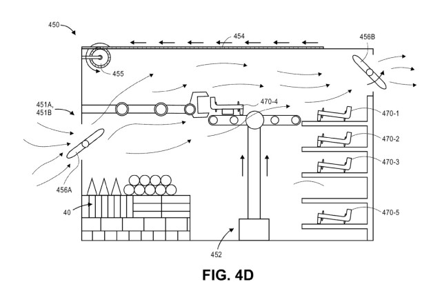
“联合运输车辆装满了各种商品,并配备了一架无人机,可以前往任何地方送货。联合运输车辆可以与货车、货轮或货车结合,并配置可以往无人机装入货物的系统以及发射或回收无人机的系统。此外,联合运输车辆可能还装满了各种备用零部件和检测设备,以便在联合运输车辆行进的过程中进行维修或检测活动。”
简单地说,亚马逊正在尝试打造能够存储、维修和部署无人机的特殊设施,从而将商品和无人机运输到可能有需求的任何地方(这可以根据季节性消费趋势或某地区的促销活动来定)。

值得说明的是,我们无法保证亚马逊最终会推出这样的移动式无人机站点。大型科技公司每年都会申请数千个专利,但是并非所有的专利最后都变成了成型的产品。
亚马逊的无人机梦想还处于襁褓阶段。它已在剑桥进行了几次测试活动,但是真正要实现无人机的商业化还有很远的路要走,更不用说打造支持这些无人机的移动式基础架构网络了。

然而,这项专利以及其他类似的专利,让我们看到了亚马逊的员工正在着手解决的问题以及他们的解决思路。
例如,此前,亚马逊申请了一项专利,准备打造一个类似蜂箱的高塔来存放它的无人机。它称这个高塔为“多层次无人机订单执行中心”。

此外,亚马逊还考虑在无人机送货的途中,利用无人机来扫描你的房子周围的环境,从而据此向你推销更多的商品。例如,如果它发现你家院子里的树木快要枯死了,那么它可能会在自己的网站向你推荐某些肥料。
亚马逊发言人拒绝对此发表言论。














