
6 月 22 日,美国专利商标局公布亚马逊申请的无人机新专利,其中包括极具未来感的“蜂巢式无人机塔”,以及无人机螺旋桨的静音设计和冗余设计。
蜂巢式无人机塔未来感十足

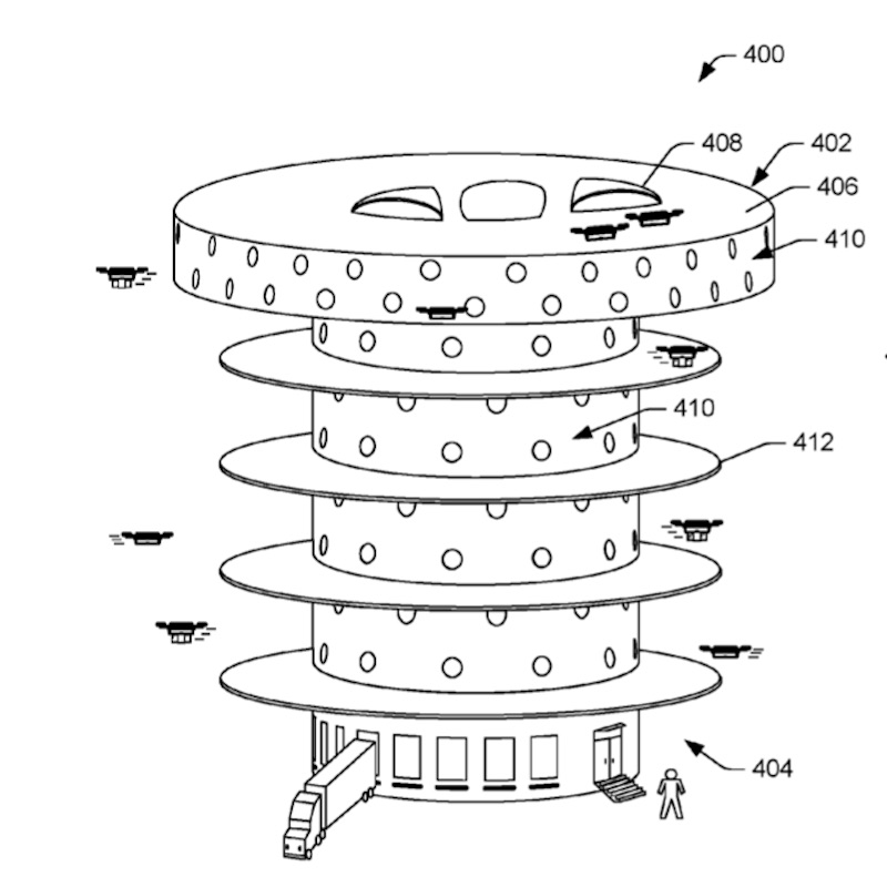
即使我们只能看到专利书上的简笔画,依然能感觉到亚马逊蜂巢式无人机塔的未来感十足。无人机塔为多层设计,底部让人员及车辆进出,往上则是让无人机进出。
无人机塔内部结构
如果把无人机比作快递员,那么蜂巢式无人机塔就是快递配送站。
目前,由于电池行业的研发天花板尚未突破,续航能力一直是无人机在应用领域的硬伤。若无人机塔可以作为无人机运货的中转站,就能缩短无人机的单次飞行距离,减少无人机单次飞行的压力。

例如,从 A 地到 B 地的送货任务,无人机无法“脚不着地”一次把某货物直接送达,那么两地之间若有无人机塔作为中转站,无人机可先将货物送至塔中,再由下一个阶段的无人机、汽车或者快递员送出。

亚马逊在专利中说,无人机塔的规模巨大,会优先在郊区建造,但无人机塔是高层建筑,单个塔就能容纳无人机群带来的货物吞吐,即使在人口密集的市中心建造也是可行的。

从专利上看来,其中一种无人机塔设计方案是子弹头状,爱范儿(微信:ifanr)根据英国伦敦的瑞士再保险公司大楼(The Swiss Re Building),大胆脑补了蜂巢式无人机塔投入使用的场景:
无人机由系统统一调度,不需要人工遥控,每一台无人机都在遵循各自的飞行路线,默默地执行任务,系统发出指令告诉它们在哪里降落、充电、取件、起飞。
整个无人机塔就像一个巨大的蜂巢,四周穿梭着工蜂一样的无人机,内部的各个区域提供不同的功能,藏着这一切有条不紊运作的秘密。



更安静和安全的螺旋桨设计
为了让无人机飞行时能够减少噪音,亚马逊提交的专利中有多种螺旋桨设计方案。其中有减小叶根附近切面的螺距,仿照飞鸟翅膀和高尔夫球表面来改变螺旋桨表面形态等等,都是为了调节螺旋桨周围气流,从而达到降噪的目的。
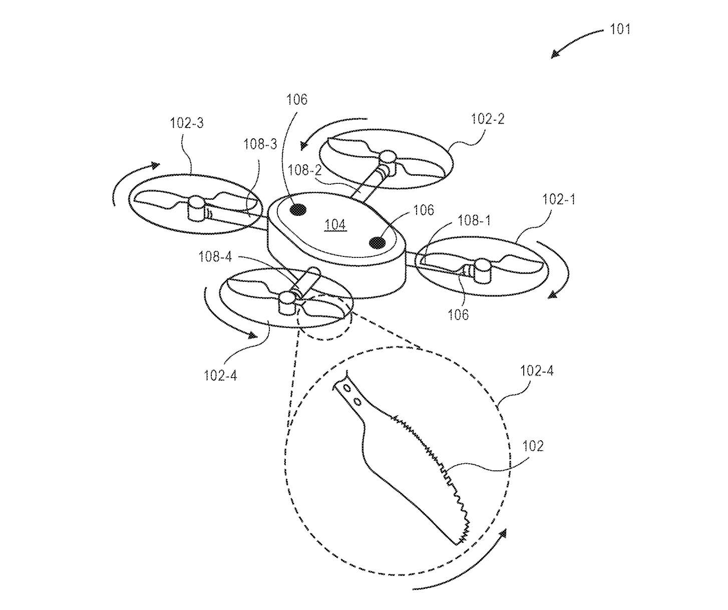
(螺旋桨边缘加了锯齿,很像餐刀)
在螺旋桨下增加锯齿的降噪设
在螺旋桨下增加叶状凸起的降噪设计
在螺旋桨的边沿或者下方增加锯齿或叶状设计是其中一个降噪思路。
一位从事十年无人机制造的工业设计师向爱范儿解释相关原理:
在螺旋桨的边沿或者下方增加锯齿或叶状设计,让这些凸起将无人机飞行中产生的声波切分,把低频的声波切成高频,直至人耳听不到。
切分声波可以这样理解,两个桨的直升机和五个桨的直升机,它们的声波频率不一样的,因此前者飞行声音是“哒哒哒哒哒”,后者飞行声音是“嘘嘘嘘嘘嘘”。
改变螺旋桨表面形态
改造螺旋桨表面形态的设计在这份专利中为数不少。比如将表面设计成为凹凸不平,这个原理与高尔夫球相似,表面布满凹坑的高尔夫球比同样大小但表面光滑的小球在空中飞行的距离更远,就是通过改变表面形态,减少阻力。
潜艇的螺旋桨
类似原理的流体力学设计在一些潜艇的螺旋桨上也有应用,凹凸不平的表面可以改变流体(液体和气体)通过的方向,进而改变螺旋桨的受力。

还有一些设计则是融合了多种改变螺旋桨附近气流的方法。

在另一份与螺旋桨有关的专利中,爱范儿(微信:ifanr)看到亚马逊也在考虑通过增加无人机螺旋桨和电机的方式来保障飞行安全。
据专利描述,冗余的螺旋桨设计,让其中一个桨坏掉后,另一个桨也能继续运转。在制造材料上,一只桨的韧性更强,另外一只桨的硬度更大。这种设计在理论上可行,但若要让无人机在各种复杂场景中,靠它来保证飞行安全,可行性不高。

据 CBS Insights 的数据显示,近年来亚马逊在供应链和物流领域申请专利的数量一直在增长,其中 2016 年共获得 78 项专利。虽然亚马逊在去年 12 月发布了无人机第一次送货的视频,展示了物流无人机 Amazon Prime Air 从下单到收货的完整流程。
但专利发明要从研发到生产,再到实际应用,并非能一蹴而就。目前物流无人机依然受到监管条例、技术水平的束缚,距离实际应用仍有很长的路。



















