在谷歌,无人机被用做运送货物、提供远程网络连接等多种用途,而在近日,谷歌又赋予了无人机一项新的“任务”——进行视频会议。
日前,美国专利商标局(USPTO)公开了谷歌一项名为“远程呈现(telepresence)”的无人机专利申请说明书。从USPTO公布的资料来看,该无人机专利的获取时间为2016年8月,其被用做“远程呈现”系统,来帮助实现远距离视频会议。

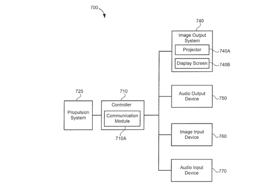
根据说明书中的图片,此“远程呈现”无人机整体呈H型,如大多无人机一样,依旧采用四旋翼结构。在使用中,其搭载的投影设备会将远程用户的画面或视频投影到前置的一个可转动的屏幕上或是墙体等平面,并且,通过无人机的移动,远程用户还可从不同角度查看会议现场,也可直接操控无人机飞到某特定人员面前。对于此无人机的应用效果,用谷歌自己的话来讲,远程用户通过无人机可以“体验身在会议现场的感觉”。
无人机基本组成
另外,在飞行期间,为了更好的投影效果,无人机所携带的屏幕还会根据动力学原理来自动调整位置,而在图像发生变形时,投影仪也会进行自动校正。
在“远程呈现”无人机将来的应用上,谷歌表示,除了满足同事之间视频会议的需要,还能够在医疗领域帮助专家远程问诊,也可以在教育领域帮助老师远程教授课业。
从目前的专利内容来看,相对于现在的视频会议设备,这类的“远程呈现”无人机的确灵活的许多,也更为全面。不过,至目前为止,这项专利还只是一份文件,先不论如何从专利转化为产品,就从技术来讲,无人机也面临着一个通用的问题——续航。目前,无人机中最好的续航能力也没能够超过一个小时,而会议的时长却是难以预料的,并且,无人机的旋桨在运转时也会发出噪音,在多种因素之下,如何保证会议中途不会被干扰势必要有所保证。














