亚马逊的无人机送快递计划已经提出两三年了,但似乎却并未真正的实施过。空中飞行的管控、无人机的安全性以及调配控制系统的完善,都需要更进一步的细化和落实。当然亚马逊并没闲着,他们的最新专利显示,亚马逊对于无人机派送快递又有了新的想法。

亚马逊快递无人机
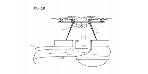
据报道,亚马逊在7月12日申请的无人机送货专利日前被曝光,该专利描述了一种在建筑物的高处设立无人机“接驳点”(Docking Station)的送货系统,亚马逊的送货无人机可以借助该接驳点进行充电和极端天气的避险,提供更好的送货服务。

无人机将快递投递到指定地点
就无人机的性能而言,最吃紧的就是续航问题。亚马逊的最新专利,正在着手解决这个问题。亚马逊计划经为无人机建造一个“加油停机坪”,例如路灯、电话亭、信号塔甚至合适的建筑物。所有“加油停机坪”都连入控制中心,方便操作员进行无人机派送任务的调配,同时能为无人机提供更精准的位置信息。在天气突变的情况下,无人机可以在“停机坪”稍事休息,避风雨的设施也在专利中进行了标注。

“加油停机坪”计划停在电线杆、路灯这样的垂直物体上
当然,最重要的还是快递的投递问题了。在专利中,亚马逊希望在“停机坪”下方设置快递投递柜,通过管道直接在“停机坪”将快递投入其中。这对快递的体积、质量和材质都有要求,例如易碎品就不适合垂直投入投递柜。
亚马逊的无人机送货系统计划在下单后的30分钟内使用无人机将快递安全送到消费者手中。“无人机送货项目有望大幅提高亚马逊所提供送货服务的质量以及总体快递系统的安全性及效率。不过,亚马逊的新专利看起来还是一个不错的主意,但想要成为现实其实是困难重重。“加油停机坪”方案更是遥遥无期。













