无人机网(www.youuav.com)数据中心援引国家知识产权局的专利数据称,发明授权专利:一种智能的无人机返航控制系统,授权公告日:2020.01.03,授权公告号:CN109795666B,申请号:2019100543528,专利权人:福建省特种设备检验研究院。
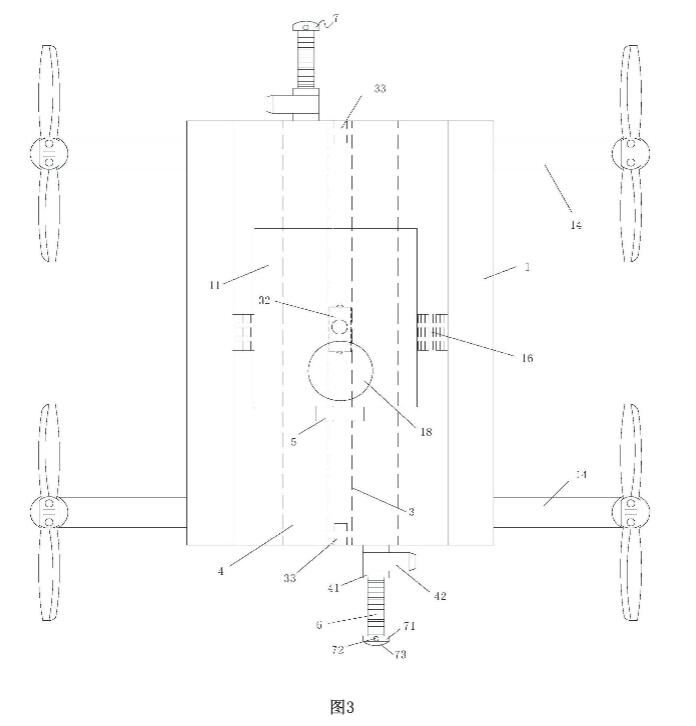
在这份发明专利中,描述了一种基于无人机的电梯导轨支架间距标记的测量装置,包括带有控制盒的无人机本体,无人机本体左右两侧均开设有槽道,槽道内前后端均垂直设置有一转动轴,转动轴上套设有一支撑臂,且支撑臂可转动地设置于转动轴上,支撑臂的尾部设置有带有电机的机翼,无人机本体开设有一甬道,甬道内设置有一方形筒体,且方形筒体在一转动电机的驱动下能在甬道内进行左右移动,方形筒体中间内部固定有一双向激光测距仪,方形筒体前端和后端均设置有一微型摄像头,方形筒体前端和后端均设置有一微型摄像头,方形筒体左右两侧均固定有一方形框体,两个方形框体内均设置有一横杆,横杆的顶端设置有一标记机构,该发明能有效减轻检验员的劳动强度,方便安装人员对超标准间距的导轨支架纠错整改。
该发明涉及特种设备技术领域,特别是一种基于无人机的电梯导轨支架间距标记的测量装置。
该发明的目的是提供一种基于无人机的电梯导轨支架间距标记的测量装置,能测出电梯导轨所有支架间的间距,并对大于2.5米的间距进行自动标记,减轻检验员的劳动强度,方便安装人员对超标准间距的导轨支架纠错整改。
该发明的有效效果在于:
该发明无人机本体左右两侧均开设有槽道,无人机的机翼能转动设置在槽道内,这样无人机不使用时机翼能折叠收起,减少了无人机战胜的空间;且该发明在一方形筒体内设置有微型摄像头和双向激光测距仪,方形筒体左右两侧均固定有一方形框体,且该方形筒体和方形框体在转动电机的驱动下能在通道内进行左右移动;这样无人机在进行测量的时候,先通过微型摄像头查看电梯导轨支架的位置,然后驱动方形筒体进行移动到电梯导轨支架的位置后,双向激光测距仪再进行测距;而方形框体内均设置有一横杆,横杆的顶端设置有一标记机构,在双向激光测距仪测量到导轨支架间距大于2.5米时进行标记,该标记采用墨水,这样检验员下次就知道哪里的导轨支架有问题,告知安装人员方便其对超标准间距的导轨支架纠错整改,提高了工作效率,有效减轻检验员的劳动强度,且保证了检验员的人身安全。
图1:正面结构示意图
图2:侧面图
图3:俯视图
图4:侧面的剖面图
图5:电路结构示意图



















