中华网财经6月2日讯,天眼查显示,浙江吉利控股集团有限公司获得“一种无人机天线折叠天线结构及应用其的无人机”专利授权,公告号CN213340682U,申请日期为2020年9月,授权日期为2021年6月1日,申请人为浙江吉利控股集团有限公司、四川傲势科技有限公司。
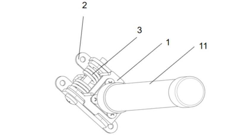
专利信息显示,本申请提供一种无人机天线折叠结构及应用其的无人机,包括:天线结构、支撑结构和弹性结构;支撑结构与无人机的机身连接,天线结构与支撑结构转动连接;弹性结构的一端与支撑结构连接,弹性结构的另一端与天线结构连接;天线结构与无人机的机翼结构位于同侧,且天线结构与机翼结构之间的距离不大于机翼结构的长度;机翼结构向机身折叠时能够向天线结构施加压力,以使天线结构绕支撑结构转动实现折叠;当施加在天线结构的压力解除时,弹性结构能够带动天线结构绕支撑结构转动实现展开。该无人机天线折叠结构在折叠时不需要额外的操作和设备,能够有效节省时间和成本,且能够降低无人机发射难度。















