无人机网(www.youuav.com)数据中心援引国家知识产权局的专利数据称,在这份发明专利中,描述了一种无人机在极端初始状态的快速平衡控制方法,属于多旋翼无人机飞行控制技术领域。本方法包括如下步骤:
(1)无人机上电,对陀螺仪、磁力计、加速度计进行校准,并检查电机解锁后是否运转正常;
(2)各个传感器校准完毕,电机解锁后一切正常,手持无人机准备进行抛飞;
(3)向上以任意方向抛出无人机,当无人机在空中自由落体的时候,拨动遥控器档位;
(4)无人机自由落体时,接收到遥控器的档位变化,根据各个传感器反馈的信息,飞行控制器调用算法,使得自身快速进入平稳飞行状态。该方法增强了飞行控制系统的鲁棒性,同时提高了整个飞行系统状态的收敛速度。
无人机为了提升娱乐性提出了手抛即飞的任务需求,此时飞行控制系统的任务是使无人机能在任意的初始状态收到地面站发出的平衡指令后快速进入平稳飞行状态。
在当前的工程实践中,传统的比例积分微分(PID)控制策略依然被广泛采用。在飞行控制系统的设计中,常用的方法是利用小扰动分析建立俯仰、滚转、航向和高度四个通道的近似线性模型。虽然比例积分微分控制策略在分通道控制中具有不错的控制效果,但其更适用于单变量系统。而无人机属于复杂的多变量系统,各个状态之间的耦合较为严重,使用比例积分微分控制策略在设计上通常忽略各个状态之间的耦合影响,控制参数较多,控制参数的设计过程也较为复杂。
在抛飞过程中的任意初始状态,无人机需要进行快速翻滚等大机动动作,既要保证比较好的动态品质特性(如快速性与弱超调性),又要兼顾性能鲁棒性与稳定性。通道间的耦合作用使得比例积分微分控制难以让无人机快速进入平衡飞行状态。
该发明针对无人机在抛飞场景对姿态和高度快速响应要求,提出了一种无人机在极端初始状态的快速平衡控制方法。
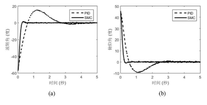
首先,结合精准的无人机非线性数学模型而设计了分层级联结构控制器,基于辅助面的快速终端滑模控制算法,由此推导出姿态控制律、角速率控制律和高度控制律,达到加快收敛速度的效果。
该方法增强了行控制系统的鲁棒性,同时提高了整个飞行系统状态的收敛速度。
无人机飞行控制系统分层级联控制器设计原理框图
辅助面的终端滑模控制算法结构图
切换面S1i、S2i切割的四个子空间
辅助面的示意图
姿态跟踪控制响应曲线图,其中(a)表示滚转角响应曲线,(b)表示俯仰角响应曲线
高度跟踪控制响应曲线图



















