对于亚马逊来说,无人机送货是一个重点发展项目,前不久《Business Insider》透露了一份亚马逊向美国专利局申请的专利报告,该报告显示亚马逊希望建立海陆中继站,让无人机可在更适当的地点接受充电、维护和补货服务。

众所周知无人机的续航比较有限,如何保证无人机送货的稳定性是摆在亚马逊面前的一个难题,这项专利倒不如说是一项计划,整个计划主要就是为了解决无人机的续航能力和维修等问题,除了打造中继站,亚马逊甚至还希望通过大货车、火车以及各种型号的货船来作为无人机的中继站,保证无人机能够正常持久地工作。
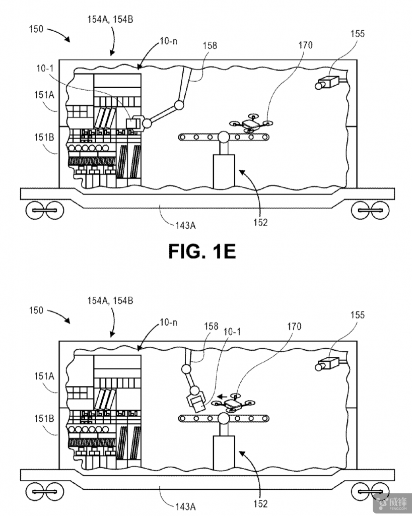
亚马逊的这项专利中提到,在这些运输工具上(大货车、火车以及各种型号的货船),配有各种维修工具与零件,就算运输工具正在移动也可提供检查与维修服务,如果有需要,运输工具将驶往特定地点,提供无人机所需的服务。知名媒体《The Verge》使用“疯狂”一词来形容亚马逊的这项专利,但是《Business Insider》则认为该专利目前只是一个概念,但亚马逊的无人机送货计划正在变得越来越清晰。

其实亚马逊在无人机送货这方面的研究一直在进行,比如开发新型的送货无人机,今年6月还提出了一个蜂窝状无人机基地的专利,这些都足以说明无人机送货在亚马逊心中的地位,至于上述提到的利用货车为中继站,早在今年2月UPS已测试过从运输货车上送出无人机,然后无人机将货物送至指定地点。

当然了,要完成这样的计划必须投入巨额的资金,用以建设完善的配送网络,并且每一处中继站还要配备足够的维修人员,工程量可不小,所以短期来说亚马逊还不会真正执行这些专利和计划。













