产品概述
SCA350型光电吊舱采用高精度两轴稳定平台,内置30倍连续变焦可见光摄像机和高分辨率单反照相机,主要用于用于民用和准军事领域的高压输电线路维护、管道巡视;也可用于森林防火、海关缉私、海事救援、渔政取证、国境巡逻等。该产品结构紧凑、性价比高,既可装备于各型直升机、无人机、无人飞艇,也可装备于舰船、车辆载体满足对空、对海使用。
产品特点
高精度两轴陀螺稳定,有效隔离飞机扰动、振动,保证图像稳定
高清摄像机和红外热像仪,高质量图像信息
自动图像跟踪,多种跟踪算法
指标参数
| 可见光摄像机 | |
| CCD芯片 | 1/4 英寸/1/2.8 英寸(可选)HAD CCD |
| 镜头 | 30倍光学变焦,f=4.3mm~129mm(可定制) |
| 图像制式 | PAL制式,帧频25Hz,720X576 |
| SDI | HD-SDI 1080P |
| 红外热像仪 | |
| 探测器及镜头 |
非制冷8~14μm ;640x480/ 17μm 100mm/ F1.0(制冷与非制冷可选) 制冷红外640x480,镜头2档变焦 240mm/40mm(制冷与非制冷可选) |
| 稳定平台 | |
| 稳定精度 | 0.1mrad |
| 搜索范围(方位) | Nx360° |
| 搜索范围(俯仰) | -90°~+ 30° |
| 俯仰最大角速度 | ≥60°/s |
| 方位最大角速度 | ≥60°/s |
| 俯仰最大角加速度 | ≥100°/s² |
| 方位最大角加速度 | ≥100°/s² |
| 电气接口 | |
| 视频输出 | PAL 或HD-SDI |
| 通讯控制 | RS422 |
| 电源 | |
| 外接电源 | 9~18VDC或20~30VDC |
| 额定功耗 | ≤40W,峰值≤60W |
| 环境条件 | |
| 工作温度 | -20~+65℃ |
| 存储温度 | -40~+85℃ |
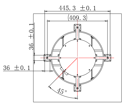
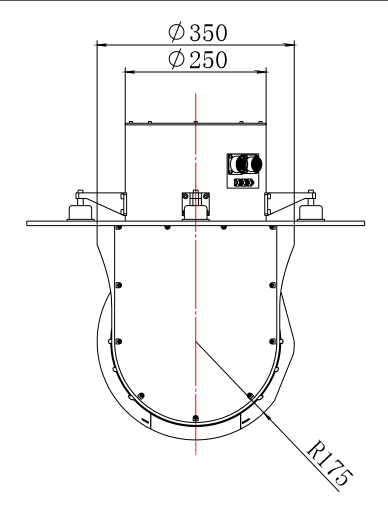
| 物理尺寸 | |
| 重量 | <35kg |
| 尺寸 | Φ350mm×580mm |
应用领域
主要用于机载对陆地及水上目标的搜索、观察、跟踪,满足航拍、飞行导航、侦查等军用或民用应用需求。该光电吊舱系统可配备自动升降装置,方便固定翼无人机应用。










